样品
成果详情
| 项目简介 | |||||
|---|---|---|---|---|---|
| 技术简介: | |||||
| 专利类型: | 实用新型 | 专利申请号: | CN202120310826.3 | 公开号: | CN214598333U | 
| 专利权人: | 南方医科大学南方医院 | 发明设计人: | 徐俊;廖卫华 | ||
| 所属领域: | |||||
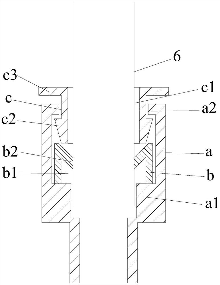
| 摘要: | 本实用新型公开了一种便捷固定管道的一氧化氮混合装置,包括主体,主体的上侧面朝上垂直延伸有上延伸管,上延伸管的前侧朝前垂直延伸有接口一,主体的上侧面在上延伸管旁朝上垂直延伸有接口二,接口一和接口二均包括外壳、弹性防脱卡环和可上下活动的外压环,外壳的上端敞口,弹性防脱卡环位于外壳内,弹性防脱卡环的上部与外壳内壁不接触且弹性防脱卡环下端固定于外壳上,弹性防脱卡环内有供气管插入的通道一,外压环内有供气管插入的通道二,外压环自外壳的上端敞口处局部伸入到外壳内并能够向下活动插入到弹性防脱卡环内使弹性防脱卡环变形以扩大通道一。本实用新型的便捷固定管道的一氧化氮混合装置可防止与一氧化氮混合装置连接的气管脱落。 | ||||
| 补充信息 | |||||
| 转让方式: | 成熟度: | 预估价值: | |||
| 市场前景: | |||||