样品
成果详情
| 项目简介 | |||||
|---|---|---|---|---|---|
| 技术简介: | |||||
| 专利类型: | 实用新型 | 专利申请号: | CN202021536414.3 | 公开号: | CN213372065U |
| 专利权人: | 南方医科大学珠江医院 | 发明设计人: | 陈莉;江永焰;李静;文萍;邓文华 | ||
| 所属领域: | |||||
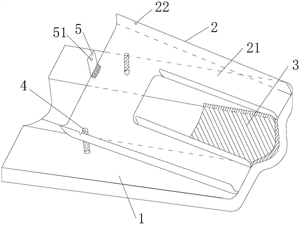
| 摘要: | 本实用新型公开了一种医用多功能支架,包括支撑板;在所述支撑板上倾斜设有可调节高度支架板,在所述可调节高度支架板上沿该可调节高度支架板的长度方向设有枕头框并且该枕头框使所述可调节高度支架板的两侧壁与枕头框之间形成用于放置手部的手部放置框。本实用新型结构简单,其使病人作CT检查更加舒适和方便。 | ||||
| 补充信息 | |||||
| 转让方式: | 成熟度: | 预估价值: | |||
| 市场前景: | |||||