样品
成果详情
| 项目简介 | |||||
|---|---|---|---|---|---|
| 技术简介: | |||||
| 专利类型: | 实用新型 | 专利申请号: | CN202322561908.7 | 公开号: | CN220861337U |
| 专利权人: | 南方医科大学南方医院 | 发明设计人: | 杨柳静;李爱民;李抗抗;陈金连;郭玲玲;魏绮丽 | ||
| 所属领域: | |||||
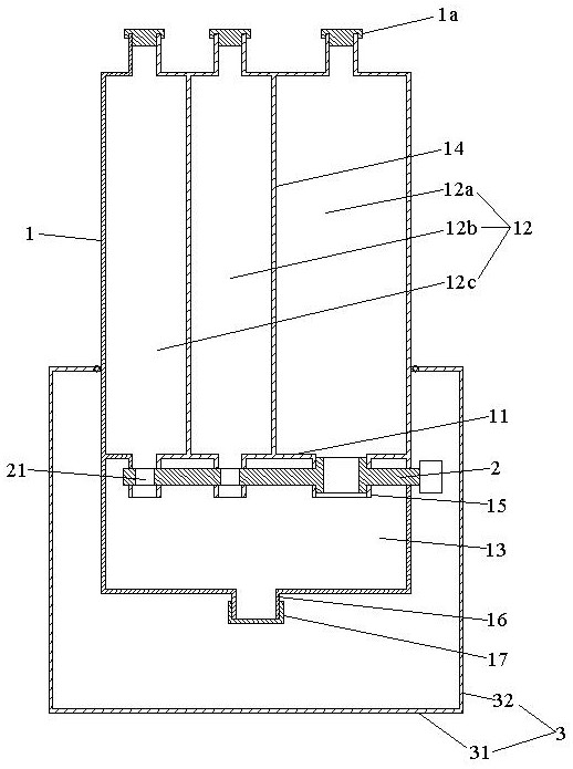
| 摘要: | 本发明公开了一种胃镜检查用染色剂混合溶液配制装置,包括瓶体,所述瓶体内通过一横向隔板分隔为上容纳腔和下混合腔,上容纳腔内通过两个竖向隔板分隔为靛胭脂容纳腔、醋酸容纳腔和清水容纳腔,横向隔板的下侧连接有位于下混合腔内且分别与靛胭脂容纳腔、醋酸容纳腔和清水容纳腔连通的三个出液接口,一旋转开关贯穿安装在三个出液接口上并且能够于旋转时同时开启及关闭三个出液接口,旋转开关的一端贯穿伸出下混合腔侧壁外,瓶体的下端延伸有与下混合腔连通的混合溶液出口,混合溶液出口处盖有可打开的盖子。本发明的胃镜检查用染色剂混合溶液配制装置能够便捷地配制混合溶液,减少护士的工作量,缩短胃镜检查时间。 | ||||
| 补充信息 | |||||
| 转让方式: | 成熟度: | 预估价值: | |||
| 市场前景: | |||||