样品
成果详情
| 项目简介 | |||||
|---|---|---|---|---|---|
| 技术简介: | |||||
| 专利类型: | 实用新型 | 专利申请号: | CN202120212808.1 | 公开号: | CN214965908U |
| 专利权人: | 南方医科大学珠江医院 | 发明设计人: | 曹秀云 | ||
| 所属领域: | |||||
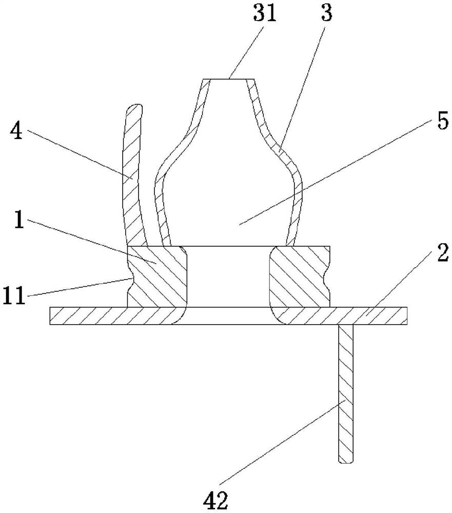
| 摘要: | 本实用新型公开了一种一次性使用的口含式采样拭子辅助用具。一种一次性使用的口含式采样拭子辅助用具,包括牙套,在所述牙套的一端设有一圈挡片,在所述牙套的另一端设有奶嘴,所述牙套、挡片和奶嘴围成的空间形成能够容纳拭子的操作间,在所述奶嘴的前端设有能够供拭子通过的通孔,在所述奶嘴靠近舌头的一侧设有压舌垫。本实用新型一种一次性使用的口含式采样拭子辅助用具,能够帮助婴幼儿保持嘴巴张开,有利于医务人员为婴幼儿进行口腔拭子采集和能够保护医务人员。 | ||||
| 补充信息 | |||||
| 转让方式: | 成熟度: | 预估价值: | |||
| 市场前景: | |||||