样品
成果详情
| 项目简介 | |||||
|---|---|---|---|---|---|
| 技术简介: | |||||
| 专利类型: | 实用新型 | 专利申请号: | CN202120052592.7 | 公开号: | CN214179509U | 
| 专利权人: | 南方医科大学南方医院 | 发明设计人: | 王娜;舒建坤 | ||
| 所属领域: | |||||
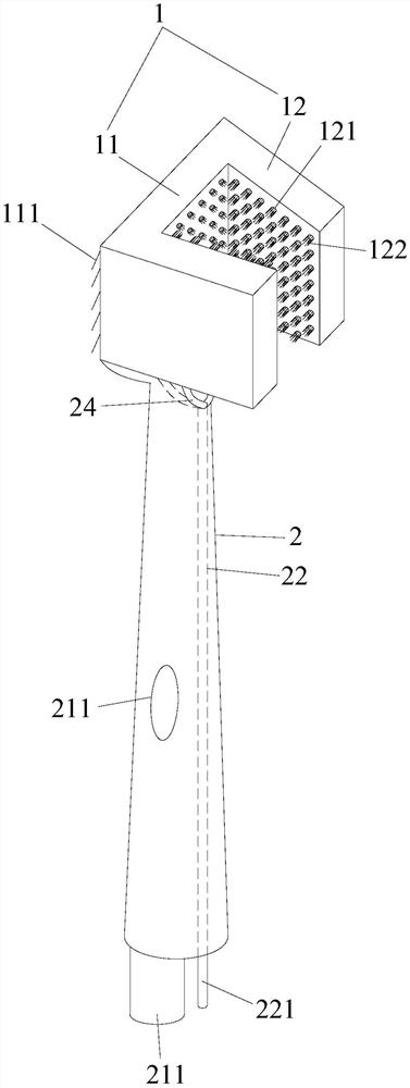
| 摘要: | 本实用新型公开了一种负压吸引式牙刷,包括牙刷头和牙刷柄,所述牙刷头包括内部空心且相连通的咬合部和两个清洁部,两个清洁部自咬合部左右两侧向前弯折延伸形成,咬合部的下端与牙刷柄的上端相连,咬合部的内面和两个清洁部相对的表面均开有进出水孔,各进出水孔的周缘固定有刷毛,牙刷柄内有与咬合部及两个清洁部内部连通的负压吸引通道,牙刷柄内还有位于负压吸引通道旁的注水通道,注水通道的上端通过三条管道分别与咬合部及两个清洁部连接。本实用新型的负压吸引式牙刷能对整个口腔内牙齿的内侧、外侧及咬合侧进行有效清洁,降低了护理人员的工作难度、减少了清洁时间,避免了诱发一系列牙齿相关的疾病及呼吸道感染等等。 | ||||
| 补充信息 | |||||
| 转让方式: | 成熟度: | 预估价值: | |||
| 市场前景: | |||||