样品
成果详情
| 项目简介 | |||||
|---|---|---|---|---|---|
| 技术简介: | |||||
| 专利类型: | 实用新型 | 专利申请号: | CN201820175882.9 | 公开号: | CN208511433U |
| 专利权人: | 南方医科大学南方医院 | 发明设计人: | 陈佩娟;张露;王丽;侯晓敏;何莲 | ||
| 所属领域: | |||||
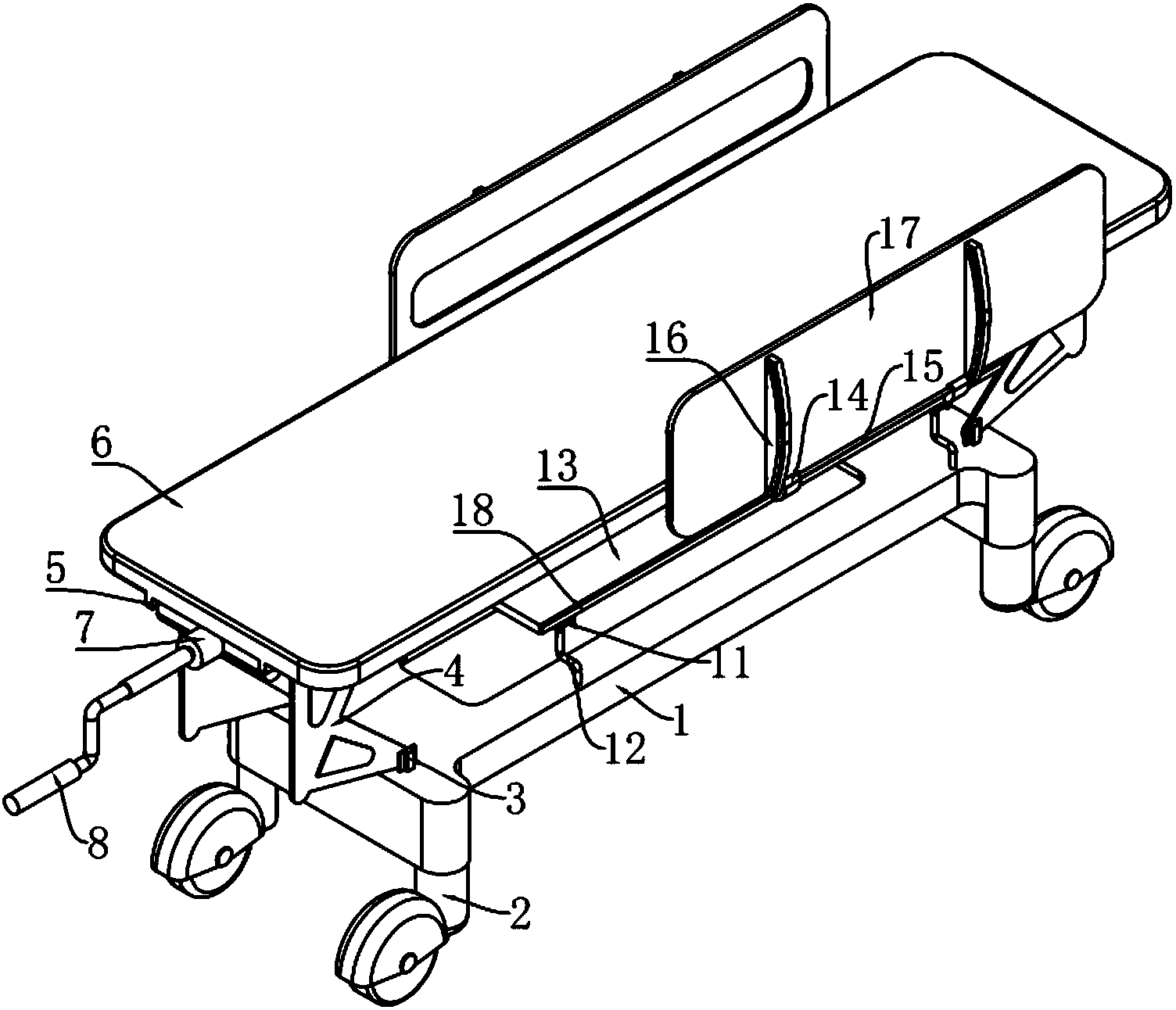
| 摘要: | 本实用新型公开了一种picc插管及换膜专用床,该picc插管及换膜专用床创新性的将手臂穿刺板设计成两层抽拉式的结构,在手臂穿刺板上设计了导向圆弧板,以及设计了可以在滑轨上前后移动的连接块,使得手臂穿刺板可以前后移动,还设计了与导向圆弧板连接的翻转轴实现手臂穿刺板的上下翻转,升降摇杆可以控制中间连接板升降,在非工作状态时手臂穿刺板垂直于床面置于床沿可减小空间,工作时翻转手臂穿刺板90°,使得手臂穿刺板与床面呈水平,方便穿刺上肢90°摆放,升降摇柄可以控制与手臂穿刺板相连的中间连接板上下运动,进而实现在工作状态时调节手臂穿刺板高度的功能,以及可以通过床头摇杆柄控制床头的斜度,该装置具有操作灵活性、床头斜度可控及手臂穿刺板可抽拉的特点。 | ||||
| 补充信息 | |||||
| 转让方式: | 成熟度: | 预估价值: | |||
| 市场前景: | |||||