样品
成果详情
| 项目简介 | |||||
|---|---|---|---|---|---|
| 技术简介: | |||||
| 专利类型: | 实用新型 | 专利申请号: | CN202220846240.3 | 公开号: | CN217566638U |
| 专利权人: | 南方医科大学珠江医院 | 发明设计人: | 林宝杰;吴阫玲;吴昱彤 | ||
| 所属领域: | |||||
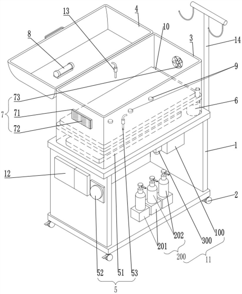
| 摘要: | 本实用新型公开了一种新生儿专用暖箱,包括带有行走轮的支座,在支座上设有一间隔成上下两层腔体结构的箱体,在箱体上铰接有箱盖,在箱体的下层腔体内设有加热结构和加湿器;在箱体的上层腔体的侧壁上设有换气结构,在箱体的上层腔体上设有一内部嵌设有称重传感器的软垫;在箱盖的内壁上设有蓝光灯;还在支座上设有手卫生监测结构,其中,加热结构、加湿器、换气结构、蓝光灯、称重传感器和手卫生监测结构均与一设在箱体外壁上的带有显示屏的控制面板电连接。本实用新型具有能够有效促进暖箱内部的空气流通、能够对新生儿的体重进行监测以及黄疸治疗功能、有效减少医护人员的护理工作量、还能够对医护人员的手卫生进行有效监测的优点。 | ||||
| 补充信息 | |||||
| 转让方式: | 成熟度: | 预估价值: | |||
| 市场前景: | |||||