样品
成果详情
| 项目简介 | |||||
|---|---|---|---|---|---|
| 技术简介: | |||||
| 专利类型: | 实用新型 | 专利申请号: | CN202020844739.1 | 公开号: | CN213158395U |
| 专利权人: | 南方医科大学南方医院 | 发明设计人: | 陈婷;郑佩庄;温文燕;张琴;倪娓娓 | ||
| 所属领域: | |||||
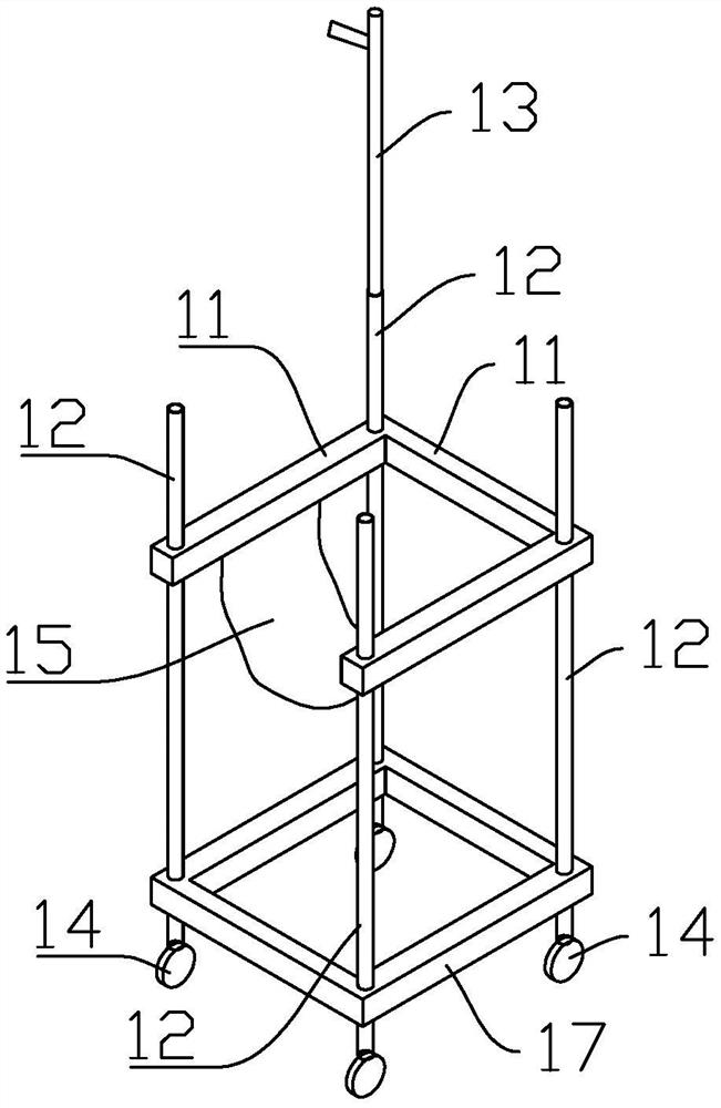
| 摘要: | 本实用新型公开了一种可移动的输液架,其包括架本体,架本体包括三个手扶横梁和四个支撑竖梁,三个手扶横梁构成具有三边的矩形结构,四个支撑竖梁分别安装在矩形结构的四个角,其中一个支撑竖梁安装有输液支杆,各支撑竖梁的底部安装有万向轮,架本体布置有座椅部。输液架设计万向轮方便病人走动时移动,在架本体中设计座椅部,方便病人坐下休息,避免因劳累而跌倒。本实用新型可广泛应用于医疗器械技术领域。 | ||||
| 补充信息 | |||||
| 转让方式: | 成熟度: | 预估价值: | |||
| 市场前景: | |||||