样品
成果详情
| 项目简介 | |||||
|---|---|---|---|---|---|
| 技术简介: | |||||
| 专利类型: | 实用新型 | 专利申请号: | CN201920502409.1 | 公开号: | CN210301844U |
| 专利权人: | 南方医科大学南方医院 | 发明设计人: | 郭萍;黄榕;陈宝梅;谢一色;宋洁;陈泽纯 | ||
| 所属领域: | |||||
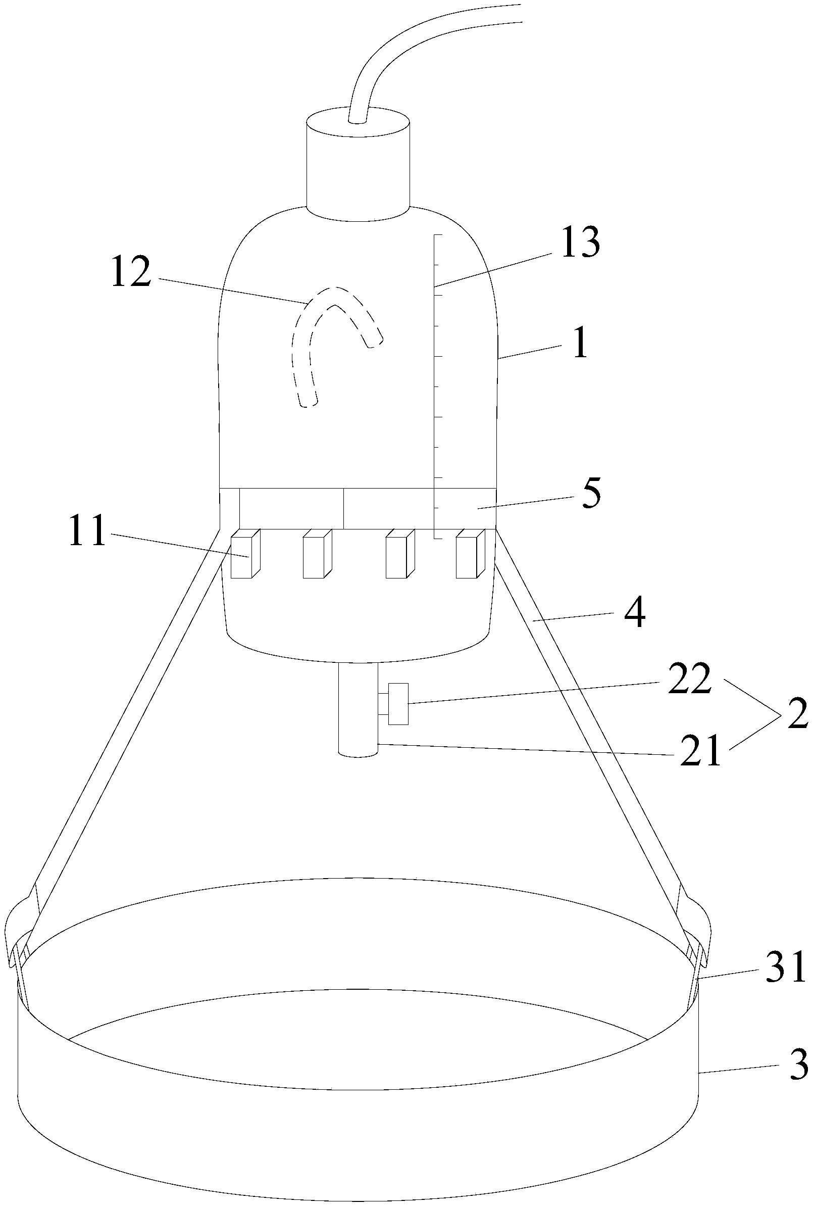
| 摘要: | 本实用新型公开了一种方便留取标本及取放的负压引流瓶,包括瓶体,瓶体底部装有排放阀,还包括位于排放阀和瓶体下方的防溅洒盒,所述防溅洒盒的上端两侧连接有连接带,两个连接带的上端分别连接一个半环带,两个半环带相互可拆卸连接并且紧固套装在瓶体外围,防溅洒盒与排放阀之间有取标本空间。本实用新型的方便留取标本及取放的负压引流瓶防止引流液溅洒于地上,保持地面清洁,解决了环境污染和卫生隐患的问题。 | ||||
| 补充信息 | |||||
| 转让方式: | 成熟度: | 预估价值: | |||
| 市场前景: | |||||