样品
成果详情
| 项目简介 | |||||
|---|---|---|---|---|---|
| 技术简介: | |||||
| 专利类型: | 实用新型 | 专利申请号: | CN202222151244.2 | 公开号: | CN218890000U |
| 专利权人: | 南方医科大学珠江医院 | 发明设计人: | 杨又专;罗桂芝;袁雅琴;马红超 | ||
| 所属领域: | |||||
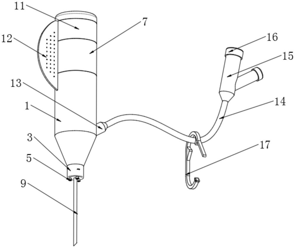
| 摘要: | 本实用新型公开了一种便于定位的静脉留针装置,包括留针主体,所述留针主体的下端面固定安装有安装块,所述安装块的下端面开设有安装孔,所述安装孔依次设有多个,多个所述安装孔内均固定安装有螺纹灯座。本实用新型有益效果:通过设置红外线照射灯、螺纹灯座和螺纹连接座,使得该装置可通螺纹灯座、螺纹连接座的相互配合使得红外线照射灯便于拆卸,红外线照射灯的可拆卸降低了红外线照射灯的更换成本,通过红外线照射灯便于将患者待穿刺处的皮肤进行照明,使患者待穿刺处的皮肤变得通透,进而便于医护人员找到患者待穿刺处的血管,并对其进行穿刺,这样避免了医护人员找不到患者血管需要多次进行穿刺,会给患者带来较大的痛苦问题。 | ||||
| 补充信息 | |||||
| 转让方式: | 成熟度: | 预估价值: | |||
| 市场前景: | |||||