样品
成果详情
| 项目简介 | |||||
|---|---|---|---|---|---|
| 技术简介: | |||||
| 专利类型: | 实用新型 | 专利申请号: | CN202022778498.8 | 公开号: | CN216536363U |
| 专利权人: | 南方医科大学深圳医院 | 发明设计人: | 朱小佳;赵鹏 | ||
| 所属领域: | |||||
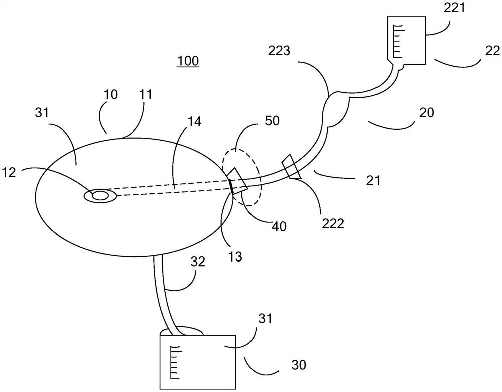
| 摘要: | 本实用新型适用于医疗器械技术领域,提供了一种一体式密闭灌肠引流装置,包括:集便袋,具有第一收集腔,并且其一端设置有肛门接口,另一端设置有储液接口;储液组件,包括储液连接件和储液件,所述储液连接件与所述储液接口连接;所述储液件包括储液瓶和设置在所述储液连接件上的流量调节器;引流袋,具有第二收集腔,并与所述集便袋连接。此外,本一体式密闭灌肠引流装置还具有报警装置,可以提示医护工作者相关操作已经完成。借此,本实用新型避免肛管插入及拔除过程大便易喷溅造成的职业暴露及交叉污染,提高患者舒适度和依从性,便于医护人员精确高效的护理多个病人。 | ||||
| 补充信息 | |||||
| 转让方式: | 成熟度: | 预估价值: | |||
| 市场前景: | |||||