样品
成果详情
| 项目简介 | |||||
|---|---|---|---|---|---|
| 技术简介: | |||||
| 专利类型: | 实用新型 | 专利申请号: | CN202021922797.8 | 公开号: | CN213553110U |
| 专利权人: | 南方医科大学南方医院 | 发明设计人: | 马琼;黄少燕;彭艳 | ||
| 所属领域: | |||||
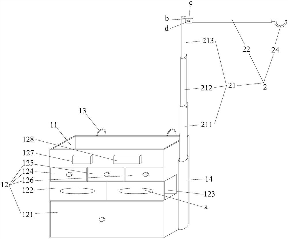
| 摘要: | 本实用新型公开了一种耐药菌隔离框,包括隔离框,所述隔离框的顶部凹陷有凹槽,隔离框的前侧有抽屉,隔离框的后侧固定有床栏挂钩,所述隔离框的侧面固定有一套管,还包括一可伸缩的挂杆,挂杆包括竖向伸缩杆和横向可折叠杆,横向可折叠杆的一端与竖向伸缩杆的上端转动连接并且转动角度为0‑90度,横向可折叠杆的另一端固定有夹子或挂钩,竖向伸缩杆的下装插装在套管内。本实用新型的耐药菌隔离框使用更为方便。 | ||||
| 补充信息 | |||||
| 转让方式: | 成熟度: | 预估价值: | |||
| 市场前景: | |||||