样品
成果详情
| 项目简介 | |||||
|---|---|---|---|---|---|
| 技术简介: | |||||
| 专利类型: | 实用新型 | 专利申请号: | CN201921019629.5 | 公开号: | CN210963327U |
| 专利权人: | 南方医科大学南方医院 | 发明设计人: | 陈宝梅;黄榕;蔡丽红;陈泽纯;郭萍;郭亚云 | ||
| 所属领域: | |||||
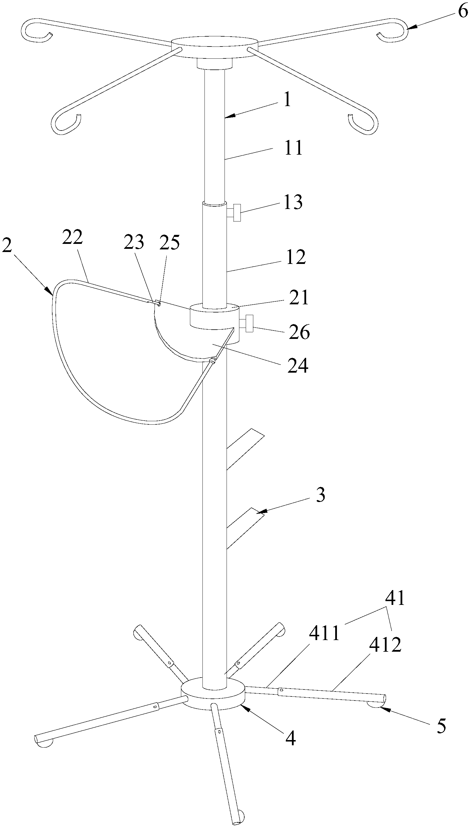
| 摘要: | 本实用新型公开了一种多功能移动输液架,包括可升降输液杆、固定于可升降输液杆上端的挂钩和安装在可升降输液杆下端的万向轮,所述可升降输液杆上安装有高度可调节的扶手,扶手包括套装于可升降输液杆外围的套装固定部以及可打开并朝下旋转的扶手环,扶手环的一端与套装固定部铰接连接,扶手环的另一端与套装固定部可拆卸连接,并构成连接时形成封闭式扶手的第一状态,以及拆卸时朝下旋转形成挂钩的第二状态。本实用新型的多功能移动输液架使用安全。 | ||||
| 补充信息 | |||||
| 转让方式: | 成熟度: | 预估价值: | |||
| 市场前景: | |||||