样品
成果详情
| 项目简介 | |||||
|---|---|---|---|---|---|
| 技术简介: | |||||
| 专利类型: | 实用新型 | 专利申请号: | CN202020805799.2 | 公开号: | CN212522746U |
| 专利权人: | 南方医科大学南方医院 | 发明设计人: | 许健柱;邹金华;罗经杰;邓源;彭金浩;刘忠强;徐金锋;邓素芬;邝倍;李新宇;黄霖;李斯;叶锡渠;林耿贤;侯明扬;李晓俊;王惠;刘欢欢;熊斯丽 | ||
| 所属领域: | |||||
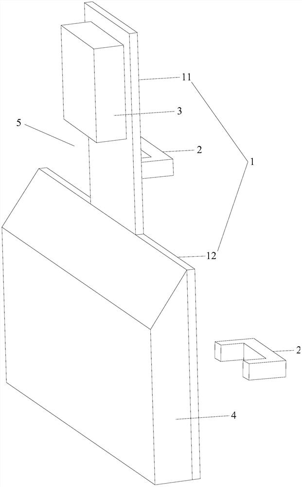
| 摘要: | 本实用新型公开了一种用于制作放疗体位固定用头颈部发泡胶的辅助工具,包括塑形板,所述塑形板的一面有两个手握把,塑形板的另一面有用于模拟人体头部平躺时的受力面情况的一塑形块一和用于模拟人体颈肩部平躺时的受力面情况的一塑形块二,塑形块一和塑形块二之间具有间隔。本实用新型的用于制作放疗体位固定用头颈部发泡胶的辅助工具能使发泡胶完美贴合患者的头部及肩部,减少头颈部肿瘤放射治疗的摆位误差,提高头颈部肿瘤放射治疗的精确性。 | ||||
| 补充信息 | |||||
| 转让方式: | 成熟度: | 预估价值: | |||
| 市场前景: | |||||