样品
成果详情
| 项目简介 | |||||
|---|---|---|---|---|---|
| 技术简介: | |||||
| 专利类型: | 实用新型 | 专利申请号: | CN202021653965.8 | 公开号: | CN213430795U |
| 专利权人: | 南方医科大学南方医院 | 发明设计人: | 熊柯;董冰松;郑毅旭;徐静;杨娟 | ||
| 所属领域: | |||||
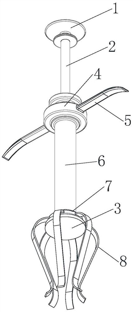
| 摘要: | 本实用新型公开了一种义眼座植入辅助器械,包括压块、推注杆、推块、上柱、手拉杆、主杆、下连接块和瓣形曲片,该辅助器械通过在推注杆的上端安装压块,并将推注杆安装在主杆的内通孔内,以及在推注杆的下端连接了推块,为了实现将球型义眼座推入眼窝内,在主杆的下端设置了下连接块,并设计了多个圆周整列的瓣形曲片固定安装在下连接块上,在使用时,通过挤压位于推注杆上方的压块,可将放置在推块的前方位置、瓣形曲片内部的义眼座推入到眼窝中,以及为方便将义眼座推入眼窝的过程中操作者的受力,在上柱的外端面上左右两侧设计了手拉杆,该装置的瓣形曲片为弹性条结构,在义眼座受到推块的推力向前运动时可推开弹性条,将植入物放置到目的地。 | ||||
| 补充信息 | |||||
| 转让方式: | 成熟度: | 预估价值: | |||
| 市场前景: | |||||