样品
成果详情
| 项目简介 | |||||
|---|---|---|---|---|---|
| 技术简介: | |||||
| 专利类型: | 实用新型 | 专利申请号: | CN201821192917.6 | 公开号: | CN208783613U |
| 专利权人: | 南方医科大学 | 发明设计人: | 周思云;郭祥;伍靖;李子旋;周晓红 | ||
| 所属领域: | |||||
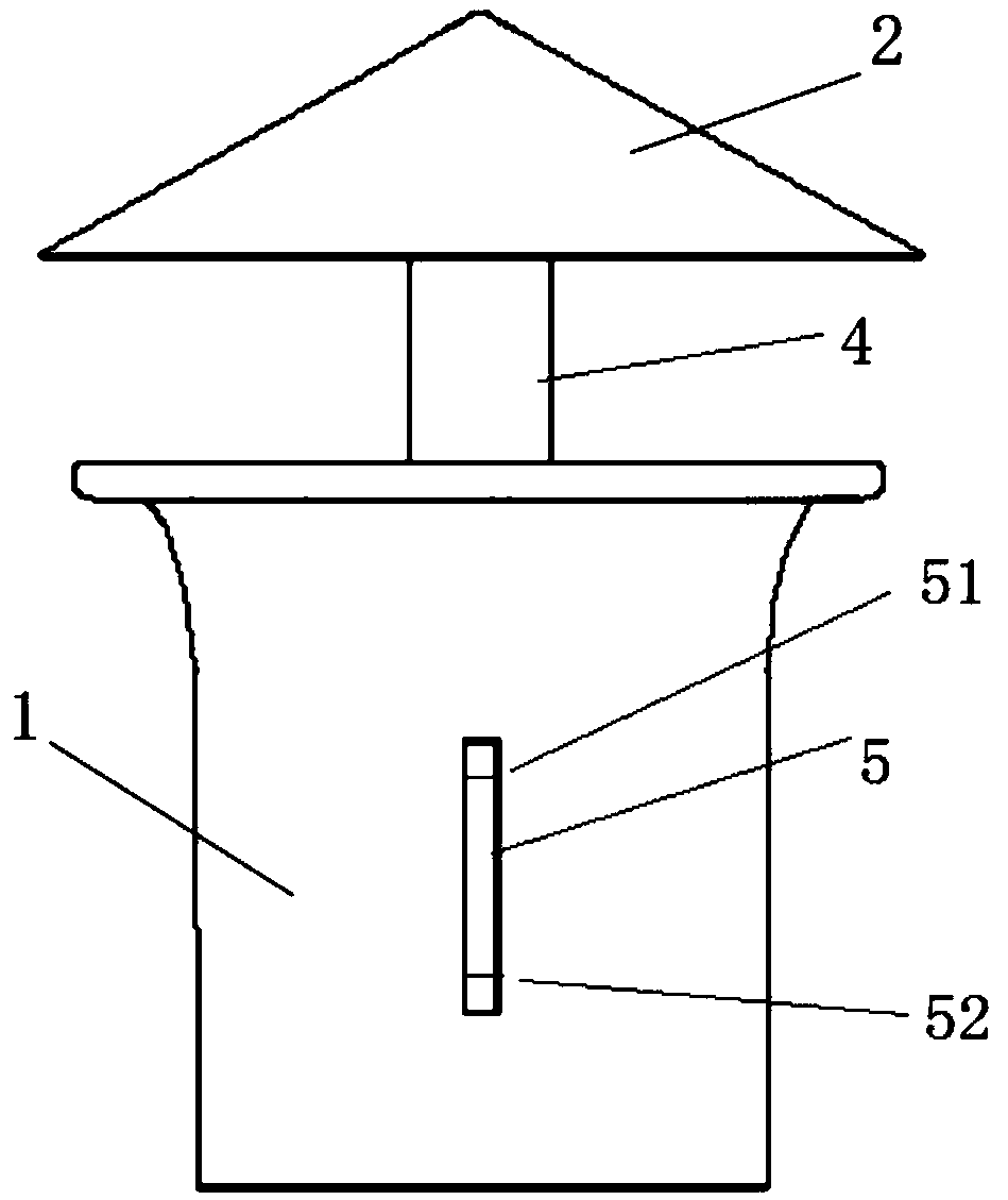
| 摘要: | 本实用新型公开了一种白纹伊蚊诱卵器,包括顶盖、桶身、诱卵载体、盐包;所述顶盖罩于所述桶身桶口上方,与所述桶口之间留有供伊蚊进入桶内的间隙,所述桶身上标有用于指示水位的刻度线,该刻度线包括下水位线和上水位线,所述诱卵载体呈环状,在所述桶身内装入水后,该诱卵载体能水平漂浮于该水面,所述盐包在所述桶身内的水位位于所述下水位线和上水位线之间溶解其中时,刚好使得到的盐水浓度为5‑10%。该诱卵器是一种长效的,且非常适合用于社区范围的白纹伊蚊消杀装置。 | ||||
| 补充信息 | |||||
| 转让方式: | 成熟度: | 预估价值: | |||
| 市场前景: | |||||