样品
成果详情
| 项目简介 | |||||
|---|---|---|---|---|---|
| 技术简介: | |||||
| 专利类型: | 实用新型 | 专利申请号: | CN202120561750.1 | 公开号: | CN215230912U |
| 专利权人: | 南方医科大学南方医院 | 发明设计人: | 孟凡良 | ||
| 所属领域: | |||||
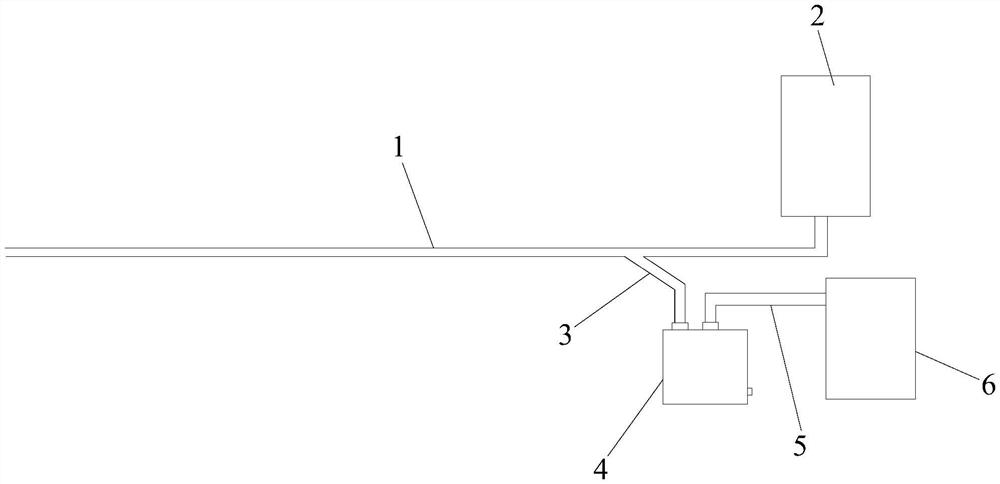
| 摘要: | 本实用新型公开了一种新型腹腔镜用无线电动便携冲洗吸引装置,包括冲吸管,所述冲吸管的一端为冲吸端,冲吸管的另一端为与生理盐水连接的进水端,所述冲吸管在进水端的近侧侧向延伸有出水管,所述出水管连接至一无线电动吸引装置的进水接口,无线电动吸引装置的出水接口通过一连接管连接至一次性引流袋。本实用新型的新型腹腔镜用无线电动便携冲洗吸引装置简化了结构,成本了降低,减少了医疗费用,减少占据手术室空间,避免了跨越有菌区,降低感染的发生,减少台下人员为接冲洗装置而花费的时间,能减少细胞残留在引流管腔的可能,保证疾病的诊断和后续治疗。 | ||||
| 补充信息 | |||||
| 转让方式: | 成熟度: | 预估价值: | |||
| 市场前景: | |||||