样品
成果详情
| 项目简介 | |||||
|---|---|---|---|---|---|
| 技术简介: | |||||
| 专利类型: | 实用新型 | 专利申请号: | CN202320931596.1 | 公开号: | CN219602320U |
| 专利权人: | 南方医科大学南方医院 | 发明设计人: | 王小雄 | ||
| 所属领域: | |||||
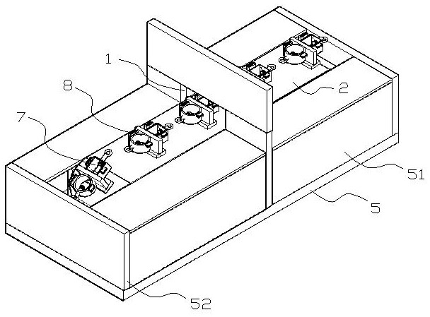
| 摘要: | 本实用新型涉及药房设备领域,尤其涉及一种药房取药窗口连续发药装置,该装置可以通过机械循环的方式向窗口外侧连续输出发药,病人可根据自己的姓名自行取药,有效解决背景技术中提出的问题。包括嵌于窗口处的环形的传送带,所述传送带外端部延伸至窗口外侧,传送带两端部内侧分别设有卷辊,所述卷辊两端部分别与支座转动连接,内侧支座外表面固定设有驱动卷辊的驱动电机。传送带上表面固定轴向间隔固定设有固定座,所述固定座上表面设立板,所述立板两侧分别固定设有与盒装药品和瓶装药品配合的第一固定件和第二固定件。它操作简单,使用方便,适用于多种药品。 | ||||
| 补充信息 | |||||
| 转让方式: | 成熟度: | 预估价值: | |||
| 市场前景: | |||||