样品
成果详情
| 项目简介 | |||||
|---|---|---|---|---|---|
| 技术简介: | |||||
| 专利类型: | 实用新型 | 专利申请号: | CN201821477332.9 | 公开号: | CN209529766U |
| 专利权人: | 南方医科大学南方医院 | 发明设计人: | 陈新华;林周盛;余江;李国新;赵明利 | ||
| 所属领域: | |||||
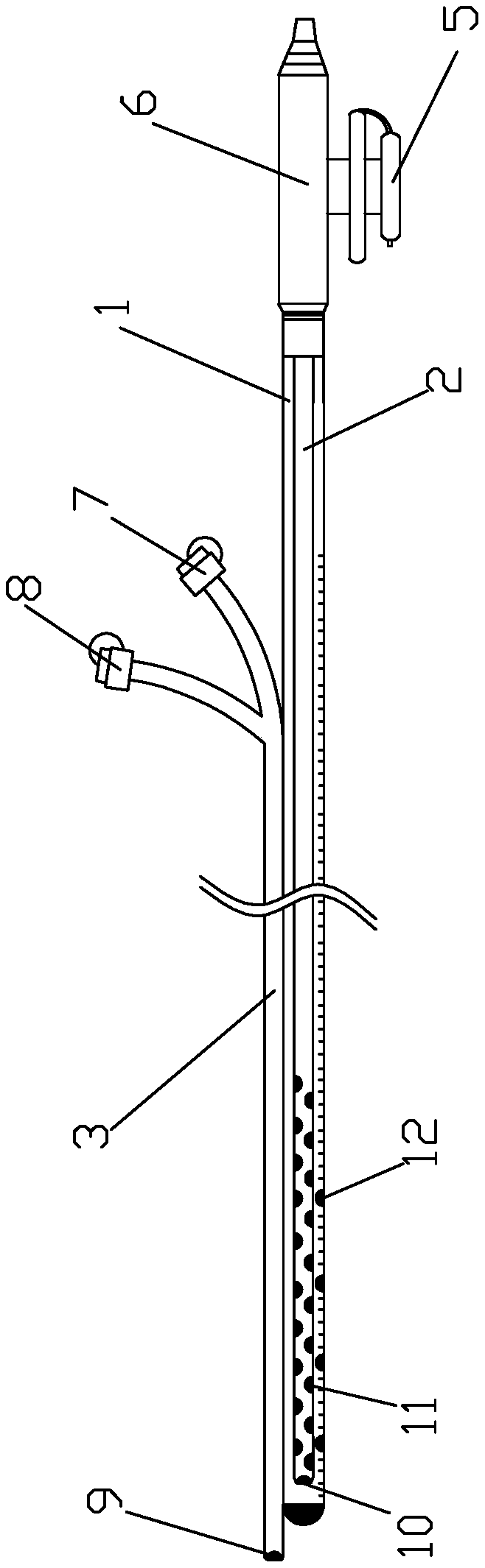
| 摘要: | 本实用新型公开了具有冲洗功能的腹腔引流器,包括引流主管、引流内管和冲洗管,引流内管套在引流主管中,冲洗管布置在引流主管的外侧面,引流主管的前端封闭,引流主管的侧壁布置有若干个引流孔,引流内管的侧壁布置有若干个第二负压孔,引流内管的外壁与引流主管的内壁之间形成有缓冲腔。本实用新型通过设计一体式结构的引流主管和冲洗管,可节省医生使用时的准备时间,将引流主管的内径和引流内管的外径设计有尺寸差从而在二者之间形成缓冲腔,可避免引流内管中的负压吸引力直接将腹腔内的组织吸入,而导致组织损伤或引流主管堵塞。本实用新型结构简单,操作便捷,可广泛应用于医疗器械技术领域。 | ||||
| 补充信息 | |||||
| 转让方式: | 成熟度: | 预估价值: | |||
| 市场前景: | |||||