样品
成果详情
| 项目简介 | |||||
|---|---|---|---|---|---|
| 技术简介: | |||||
| 专利类型: | 实用新型 | 专利申请号: | CN201920519844.5 | 公开号: | CN210055963U |
| 专利权人: | 南方医科大学南方医院 | 发明设计人: | 黄少慧;黄榕;郭萍;郭亚云;徐丽;龙娟 | ||
| 所属领域: | |||||
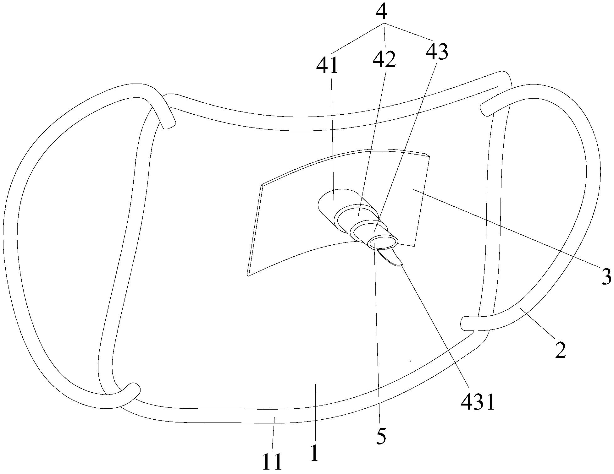
| 摘要: | 本实用新型公开了一种带治疗巾的一次性胃镜检查牙垫,包括遮罩口部和下巴的口罩式治疗巾,所述口罩式治疗巾的左右侧分别固定有耳部固定带,所述口罩式治疗巾的后侧固定有紧贴嘴唇的弧形挡板,弧形挡板的后侧有牙槽环,牙槽环的后端开有开孔,开孔向前依次贯通弧形挡板和口罩式治疗巾。本实用新型的带治疗巾的一次性胃镜检查牙垫可避免口水外逸。 | ||||
| 补充信息 | |||||
| 转让方式: | 成熟度: | 预估价值: | |||
| 市场前景: | |||||