样品
成果详情
| 项目简介 | |||||
|---|---|---|---|---|---|
| 技术简介: | |||||
| 专利类型: | 实用新型 | 专利申请号: | CN202120396905.0 | 公开号: | CN215129537U |
| 专利权人: | 南方医科大学深圳医院 | 发明设计人: | 李亮;桑宏勋;李敏;吴铭杰;李盛 | ||
| 所属领域: | |||||
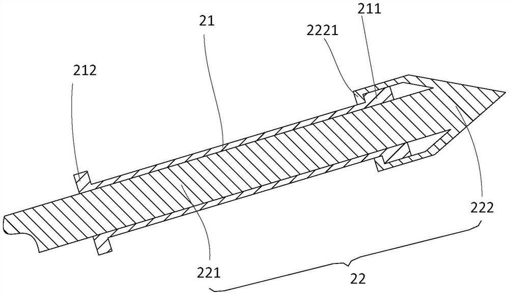
| 摘要: | 本实用新型公开了一种胫骨平台髁间隆突撕脱骨折的钻孔组件及定位器。该钻孔组件应用于胫骨平台髁间隆突撕脱骨折定位器上,定位器包括定位套筒,钻孔组件包括:套管和钻孔针,钻孔组件可活动穿过定位套筒,钻孔针包括长轴段和锥形结构,长轴段设于套管内,锥形结构的大端直径与套管卡扣式轴连接,套管背离以及与锥形结构相卡接的两端均设置有可将套管卡设在骨头内的卡凸结构,该钻孔组件可以很方便地进行找孔与穿线的动作,而且准确,使得手术很方便而且可以顺利进行。 | ||||
| 补充信息 | |||||
| 转让方式: | 成熟度: | 预估价值: | |||
| 市场前景: | |||||