样品
成果详情
| 项目简介 | |||||
|---|---|---|---|---|---|
| 技术简介: | |||||
| 专利类型: | 实用新型 | 专利申请号: | CN202120485315.5 | 公开号: | CN214971142U | 
| 专利权人: | 南方医科大学南方医院 | 发明设计人: | 施燕;刘梅娟;夏燕飞;唐美云;魏晓倩;罗娴 | ||
| 所属领域: | |||||
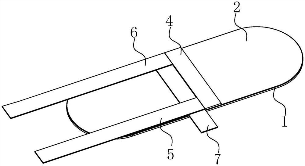
| 摘要: | 本实用新型涉及医疗用品技术领域,公开了一种医用三通阀固定敷贴,包括固定贴面;魔术贴毛面设于固定贴面的正面上;敷贴面设于固定贴面的背面上;粘贴带设于魔术贴毛面上;第一魔术贴勾面带的一端设于魔术贴毛面的前端上且靠近粘贴带,另一端沿魔术贴毛面的左右方向延伸且可与魔术贴毛面相粘合;第二魔术贴勾面带的一端设于魔术贴毛面的后端上且靠近粘贴带,另一端沿魔术贴毛面的左右方向延伸且可与魔术贴毛面相粘合;第三魔术贴勾面带的一端设于魔术贴毛面上且靠近粘贴带,另一端沿魔术贴毛面的前后方向延伸且可与魔术贴毛面相粘合。本申请提供的医用三通阀固定敷贴结构简单,操作方便,固定医用三通阀的稳定性好,使用时可以避免病人感到不适。 | ||||
| 补充信息 | |||||
| 转让方式: | 成熟度: | 预估价值: | |||
| 市场前景: | |||||