样品
成果详情
| 项目简介 | |||||
|---|---|---|---|---|---|
| 技术简介: | |||||
| 专利类型: | 实用新型 | 专利申请号: | CN202023051849.1 | 公开号: | CN214387436U | 
| 专利权人: | 南方医科大学南方医院 | 发明设计人: | 李胜龙;吴朝松;李涛;陈剑军;张仁懿;孙晓兰;鲍铭 | ||
| 所属领域: | |||||
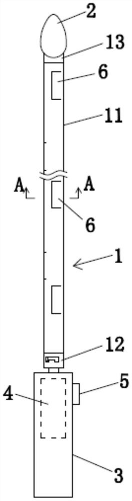
| 摘要: | 本实用新型公开了一种肛瘘旋切探针,包括探杆,所述探杆的一端设有探头,探杆的另一端设有手柄;手柄上设有旋转驱动装置,旋转驱动装置的输出端与探杆一端连接;探杆的侧壁上设有叶片;探杆上还设有通过旋转使叶片展开或折叠的调节机构。本实用新型提供的肛瘘旋切探针,可根据需要展开叶片并通过旋切方式清理瘘管壁体组织,提高了手术效率。 | ||||
| 补充信息 | |||||
| 转让方式: | 成熟度: | 预估价值: | |||
| 市场前景: | |||||