样品
成果详情
| 项目简介 | |||||
|---|---|---|---|---|---|
| 技术简介: | |||||
| 专利类型: | 实用新型 | 专利申请号: | CN202322621309.X | 公开号: | CN221206027U |
| 专利权人: | 南方医科大学珠江医院 | 发明设计人: | 王颖慧;钱前;陈柳青 | ||
| 所属领域: | |||||
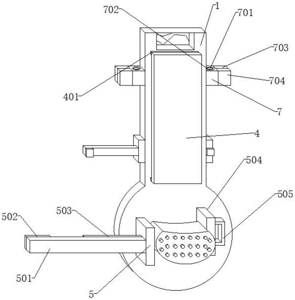
| 摘要: | 本实用新型公开了一种便捷式麻醉动脉穿刺置管术托手架,包括托板,所述托板的表面固定安装有防护块,且防护块是采用硅胶材质制成,所述防护块的表面皆固定安装有按摩块,且按摩块是采用乌檀材质制成,所述防护块的顶部固定设置有斜面板。本实用新型通过在托板的表面固定安装有防护块,能够利用防护块将病人的手进行放置,然后利用硅胶的柔性可以使患者手部放松,接着利用按摩块可以对患者手部进行按摩,利用乌檀的硬度对患者起到按摩的效果,然后利用斜面板将患者手进行限位,防止发生晃动,配合使用,固定病人的零件具有柔软性,使用起来会导致病人在穿刺时增加舒适度,不会导致手臂僵硬,不影响穿刺效率。 | ||||
| 补充信息 | |||||
| 转让方式: | 成熟度: | 预估价值: | |||
| 市场前景: | |||||