样品
成果详情
| 项目简介 | |||||
|---|---|---|---|---|---|
| 技术简介: | |||||
| 专利类型: | 实用新型 | 专利申请号: | CN202022018130.1 | 公开号: | CN213554623U | 
| 专利权人: | 南方医科大学南方医院 | 发明设计人: | 方丹;廖卫华;任纳 | ||
| 所属领域: | |||||
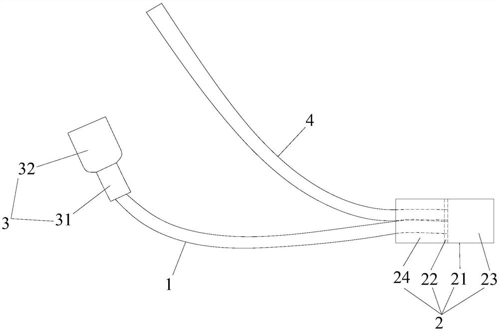
| 摘要: | 本实用新型公开了一种新型的接气管插管吸氧前端接管,包括管体,所述管体的内径为0.5cm,管体的一端一体连接有与气管插管末端的接头吻合的气管插管连接头,气管插管连接头的内径为1.5cm,管体的另一端一体连接有与无创呼吸机或加温加湿壶的接头吻合的进氧连接头,进氧连接头的内径为1.2cm。本实用新型的新型的接气管插管吸氧前端接管增加了进气容量,改善了加温加湿效果,与气管插管的接头连接吻合,严密性好,降低感染的风险,而且在进行各项护理操作时气管插管的接头不容易脱落,不需要临时拼凑,减轻了护士工作量。 | ||||
| 补充信息 | |||||
| 转让方式: | 成熟度: | 预估价值: | |||
| 市场前景: | |||||