样品
成果详情
| 项目简介 | |||||
|---|---|---|---|---|---|
| 技术简介: | |||||
| 专利类型: | 实用新型 | 专利申请号: | CN202020173574.X | 公开号: | CN211633886U |
| 专利权人: | 南方医科大学南方医院 | 发明设计人: | 彭阳;李蜀媛;王晴雷;李飞 | ||
| 所属领域: | |||||
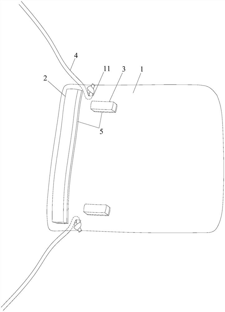
| 摘要: | 本实用新型公开了一种可反复使用的防护面罩,包括透明塑胶片,透明塑胶片的上部左右位置分别开有贯通透明塑胶片前后侧的一系绳孔,透明塑胶片的内侧在系绳孔的上方固定有一个长防撞缓冲条,长防缓冲撞条沿透明塑胶片的左右方向布置,透明塑胶片的内侧在两个系绳孔之间靠下的位置固定有两个短防撞缓冲条,两个短防撞缓冲条分别接近相应的系绳孔,各系绳孔处系有一绳带。本实用新型的可反复使用的防护面罩能够有效得防止医护人员在治疗、护理时,污染物对面部的飞溅,减少医护人员职业损伤。 | ||||
| 补充信息 | |||||
| 转让方式: | 成熟度: | 预估价值: | |||
| 市场前景: | |||||