样品
成果详情
| 项目简介 | |||||
|---|---|---|---|---|---|
| 技术简介: | |||||
| 专利类型: | 实用新型 | 专利申请号: | CN202020808971.X | 公开号: | CN212346375U |
| 专利权人: | 南方医科大学珠江医院 | 发明设计人: | 陈妙枝;黄莉 | ||
| 所属领域: | |||||
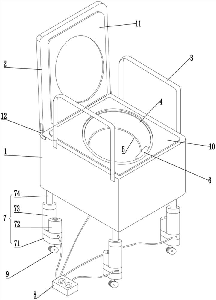
| 摘要: | 本实用新型公开了一种髋关节置换患者用的可调节坐便器,包括内部为空腔体的坐便器本体、扶手;在坐便器本体的上端面通过一角度调节器安装有靠背盖,在坐便器本体的顶部设有开口,在坐便器本体的内部且位于开口的下方设有污物桶,在坐便器本体的前端内部设有用于将患者尿液导入污物桶的导尿槽;还在坐便器本体的底部四端均设有用于调节坐便器高度以适用于髋关节置换患者用的可升降支撑结构,其中,每一可升降支撑结构均与一用于控制各可升降支撑结构同步升降的控制器电性连接。本实用新型具有坐便器高度及坐便器靠背后仰角度可调、能够根据患者需求调节到一个舒适安全坐姿、能够避免髋关节置换术患者因下地如厕体位不当而导致髋关节脱位的优点。 | ||||
| 补充信息 | |||||
| 转让方式: | 成熟度: | 预估价值: | |||
| 市场前景: | |||||