样品
成果详情
| 项目简介 | |||||
|---|---|---|---|---|---|
| 技术简介: | |||||
| 专利类型: | 实用新型 | 专利申请号: | CN202323069378.0 | 公开号: | CN221787529U |
| 专利权人: | 南方医科大学南方医院 | 发明设计人: | 张玉梅;贾海娜;程梅容;兰丽君;陈流金 | ||
| 所属领域: | |||||
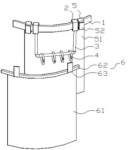
| 摘要: | 本实用新型涉及引流袋悬挂领域,尤其涉及一种引流袋悬挂装置,该装置可对引流袋进行悬挂和遮挡,且固定在患者腰带上随身携带,方便患者下床活动,有效解决背景技术中提出的问题。包括与腰带套设配合的一对间隔的第一吊耳,第一吊耳下方设有U形吊架,所述U形吊架上端面与第一吊耳底面固定连接,U形吊架横向部分横向间隔排列设有四个套环,所述套环上设有豁口;第一吊耳两侧设有与腰带套设配合的第二吊耳,U形吊架后侧的第二吊耳底部固定设有衬垫;U形吊架前侧还设有与第二吊耳配合的可拆卸的遮挡结构。它操作简单,使用方便,适用于多种型号的引流袋。 | ||||
| 补充信息 | |||||
| 转让方式: | 成熟度: | 预估价值: | |||
| 市场前景: | |||||