样品
成果详情
| 项目简介 | |||||
|---|---|---|---|---|---|
| 技术简介: | |||||
| 专利类型: | 实用新型 | 专利申请号: | CN202221452395.5 | 公开号: | CN217628328U |
| 专利权人: | 南方医科大学深圳医院 | 发明设计人: | 刘乐;梁丽萍;陈烨 | ||
| 所属领域: | |||||
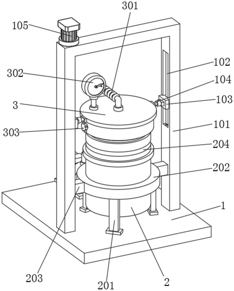
| 摘要: | 本实用新型涉及厌氧微生物培养技术领域,尤其涉及一种新型肠道厌氧微生物培养装置。其技术方案包括:安装板、密封箱和密封盖,安装板的顶部焊接有支撑架,支撑架之间的安装板顶部通过限位套限位固定有密封箱,密封箱的外侧开设有安装槽,支撑架的内侧通过活动杆滑动安装有活动套。本实用新型通过设置有密封盖、转动轴、橡胶套与活动套的相互配合,可以较为方便的通过丝杆旋转带动活动套顺着支撑架的内侧进行移动,使密封盖能够方便的与密封箱的顶部进行对接,使橡胶套能够方便的与安装槽之间进行卡合,使密封盖能够方便的进行密封操作,同时通过转动轴能够使密封盖翻转,能够方便进行调节和安装,操作方便快捷。 | ||||
| 补充信息 | |||||
| 转让方式: | 成熟度: | 预估价值: | |||
| 市场前景: | |||||