样品
成果详情
| 项目简介 | |||||
|---|---|---|---|---|---|
| 技术简介: | |||||
| 专利类型: | 发明 | 专利申请号: | CN202010206082.0 | 公开号: | CN111301838A |
| 专利权人: | 南方医科大学珠江医院 | 发明设计人: | 张玉娴 | ||
| 所属领域: | |||||
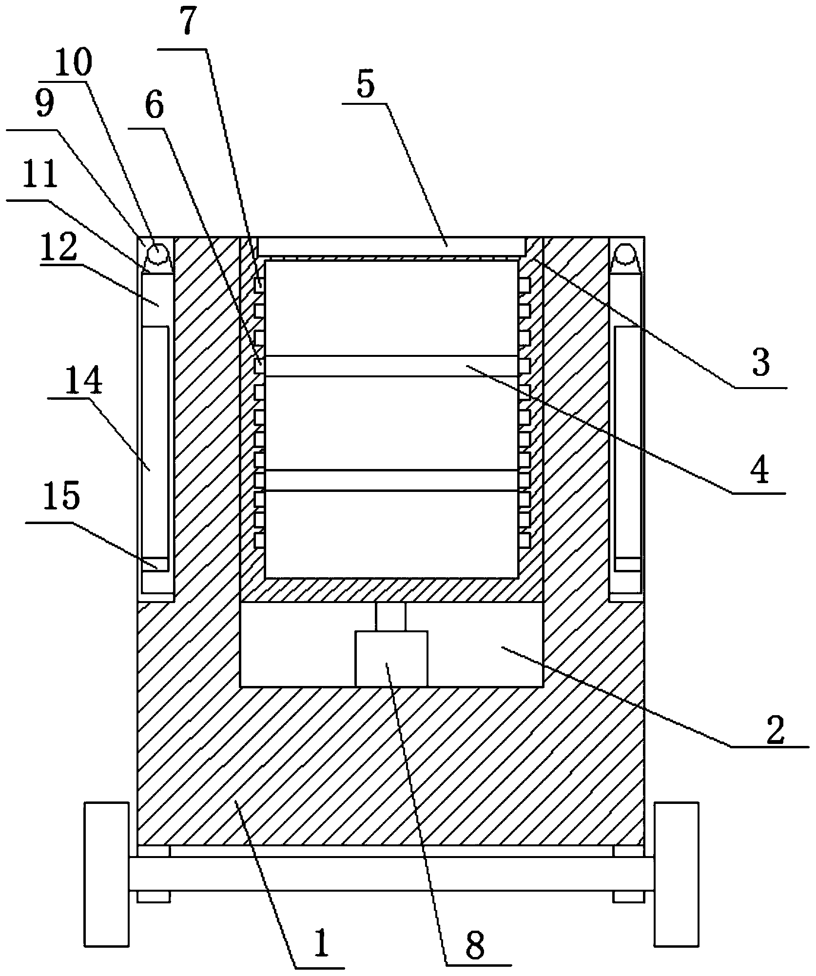
| 摘要: | 本发明属于智能机器人领域,尤其是一种用于传递物品的智能机器人,针对现有的机器人的使用面积较小,不能对较大的物品进行传递,适用范围小的问题,现提出如下方案,其包括机体,所述机体的两侧开设有水平对称设置的转动凹槽,两个转动凹槽内均横向设有安装横轴,两个安装横轴的外侧均连接有位于转动凹槽内的连接块,两个连接块上均设有位于两个转动凹槽内的折叠板,两个折叠板上均开设有两个伸缩槽,四个伸缩槽内均滑动设有挡板,本发明可以增加放置面积,可以对较大的物品进行放置,同时可以对放置的物品进行防护,防止掉落,可以对多个放置板之间的距离进行调整,从而适应不同大小的物品,结构简单,使用方便。 | ||||
| 补充信息 | |||||
| 转让方式: | 成熟度: | 预估价值: | |||
| 市场前景: | |||||