样品
成果详情
| 项目简介 | |||||
|---|---|---|---|---|---|
| 技术简介: | |||||
| 专利类型: | 实用新型 | 专利申请号: | CN202021476925.0 | 公开号: | CN213190883U |
| 专利权人: | 南方医科大学珠江医院 | 发明设计人: | 覃爱开;罗锦兰;杨琼辉;陈晓丽 | ||
| 所属领域: | |||||
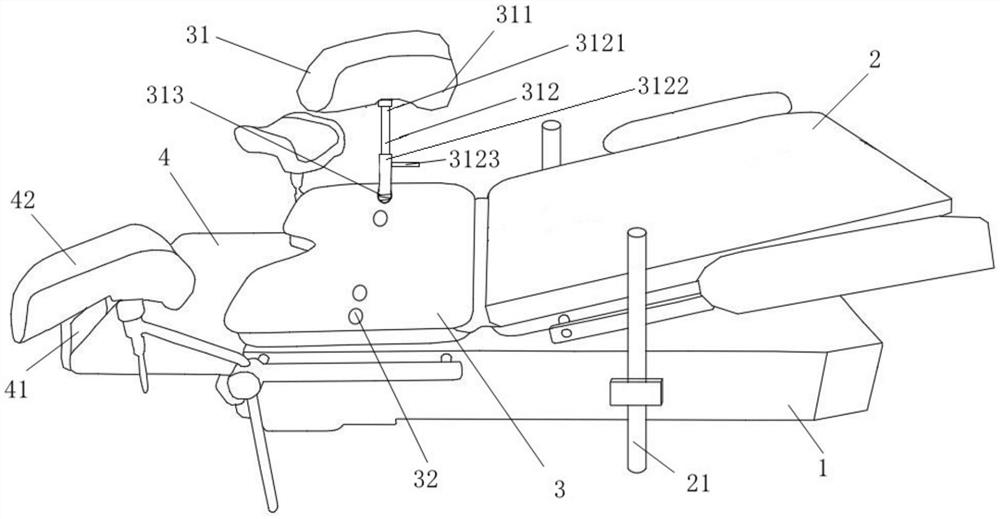
| 摘要: | 本实用新型公开了一种改良的分娩床,包括床架和设置在床架上的床体,所述床体包括自前向后依次连接的头背部床体、臀部床体和腿部床体,所述臀部床体一侧设有用于承放产妇单边腿部的可调整高度及能够转动的腿托,所述腿部床体的末端设有可调整位置的为产妇提供着力点的挡板。本实用新型解决了现有分娩床不利于侧卧位分娩的体位摆放且产妇在分娩时容易疲劳等问题。 | ||||
| 补充信息 | |||||
| 转让方式: | 成熟度: | 预估价值: | |||
| 市场前景: | |||||