样品
成果详情
| 项目简介 | |||||
|---|---|---|---|---|---|
| 技术简介: | |||||
| 专利类型: | 实用新型 | 专利申请号: | CN202420408844.9 | 公开号: | CN222075618U |
| 专利权人: | 南方医科大学深圳医院 | 发明设计人: | 彭芬芬;陈琪 | ||
| 所属领域: | |||||
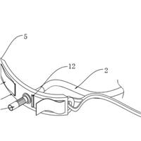
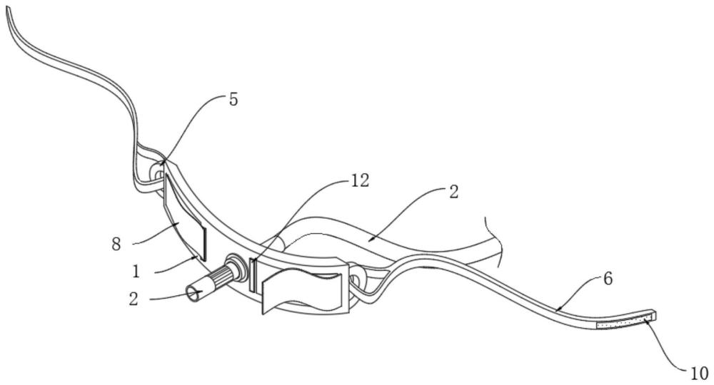
| 摘要: | 本实用新型公开了一种防脱管的腹腔引流装置,涉及医疗器械技术领域,包括柔性板,所述柔性板表面的中部插接有引流管,所述引流管的一端通过轴承转动连接有衔接头,所述衔接头的一端螺纹连接有连接头,所述柔性板的两侧均固定连接有连接块,所述连接块的内部设置有约束带,所述柔性板外表面的两侧均嵌设有观察板,所述观察板的边缘处设置有遮挡布,所述衔接头的背面嵌设于柔性板的内壁,所述连接头的一侧插接有导管,该一种防脱管的腹腔引流装置,通过衔接头、引流管和连接头的设置,在医护人员对患者进行腹腔引流时,医护人员可利用衔接头和连接头将引流管和导管进行快速对接,从而方便医护人员对患者进行腹腔引流的作用。 | ||||
| 补充信息 | |||||
| 转让方式: | 成熟度: | 预估价值: | |||
| 市场前景: | |||||