样品
成果详情
| 项目简介 | |||||
|---|---|---|---|---|---|
| 技术简介: | |||||
| 专利类型: | 实用新型 | 专利申请号: | CN201720514347.7 | 公开号: | CN207640724U |
| 专利权人: | 南方医科大学南方医院 | 发明设计人: | 林炎虹;龚妮容;胡丽萍 | ||
| 所属领域: | |||||
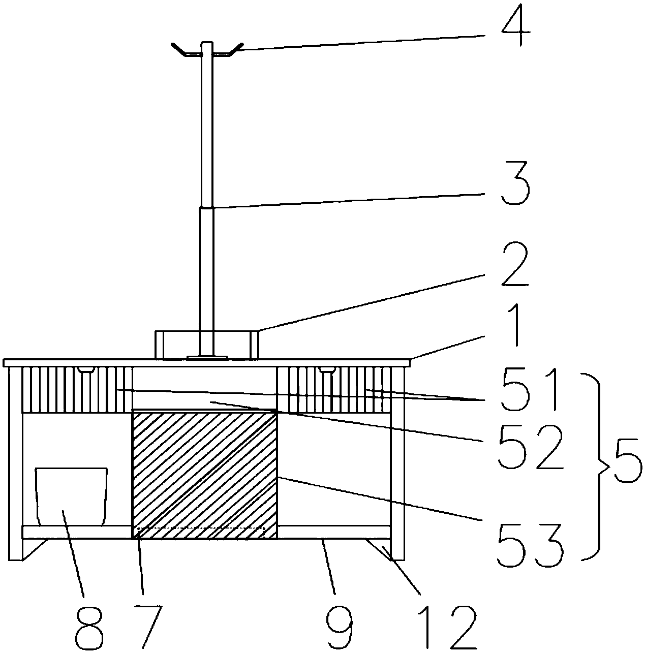
| 摘要: | 本实用新型公开了一种多功能腹膜透析操作台,包括操作台,还包括设于操作台的台面上的收纳盒、一端设于收纳盒内并且该端与收纳盒连接的伸缩杆、设置于操作台的台面下的抽屉结构,所述伸缩杆与收纳盒连接一端的相对端设置有若干个挂钩并且所述伸缩杆和各挂钩能够回收入收纳盒内。本实用新型通过在台面上设置伸缩杆和挂钩,并通过在台面下设置不同作用的抽屉和污物缸,可有效的节省空间,保持操作环境整洁,使物品放置有序,降低腹膜炎的发生率。 | ||||
| 补充信息 | |||||
| 转让方式: | 成熟度: | 预估价值: | |||
| 市场前景: | |||||