样品
成果详情
| 项目简介 | |||||
|---|---|---|---|---|---|
| 技术简介: | |||||
| 专利类型: | 实用新型 | 专利申请号: | CN202121528634.6 | 公开号: | CN215023908U |
| 专利权人: | 南方医科大学珠江医院 | 发明设计人: | 韩瑞彩;甄翠香;杨丽霞;廖荣荣 | ||
| 所属领域: | |||||
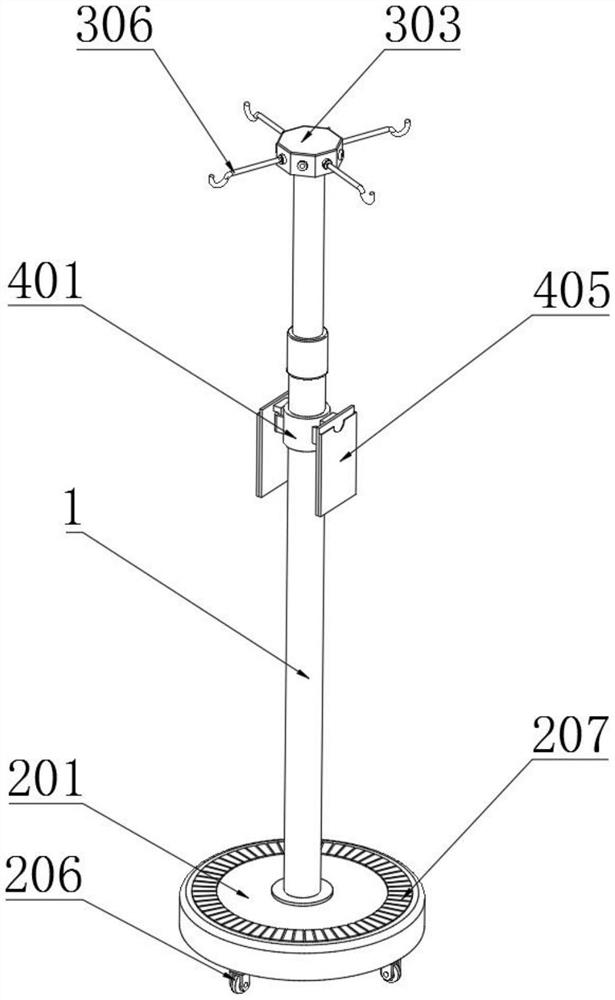
| 摘要: | 本实用新型公开了一种病房护理用输液架,包括输液架主体,所述输液架主体底端固定连接有圆形的安装底座,所述安装底座底端圆周方向均匀固定连接有矩形的容纳槽,所述安装底座底端对应容纳槽中部位置处贯穿开设有弧形槽,所述容纳槽内侧一端通过转轴转动连接有摆动连杆,本实用新型通过转动驱动环带动弧形挡块在弧形槽内部进行转动,通过弧形挡块对摆动连杆进行限位,从而防止摆动连杆在输液架移动过程中出现偏转的现象,通过连接架和滚动轮使输液架移动的更加便捷,通过对输液架的可变形设计,使输液架在放置过程中更加平稳,同时也使其在移动过程中移动的更加便捷,从而有效的提高了输液架的使用性能。 | ||||
| 补充信息 | |||||
| 转让方式: | 成熟度: | 预估价值: | |||
| 市场前景: | |||||