样品
成果详情
| 项目简介 | |||||
|---|---|---|---|---|---|
| 技术简介: | |||||
| 专利类型: | 实用新型 | 专利申请号: | CN201921037716.3 | 公开号: | CN210631228U |
| 专利权人: | 南方医科大学南方医院 | 发明设计人: | 李园芳;廖卫华;丁静;李丽丽 | ||
| 所属领域: | |||||
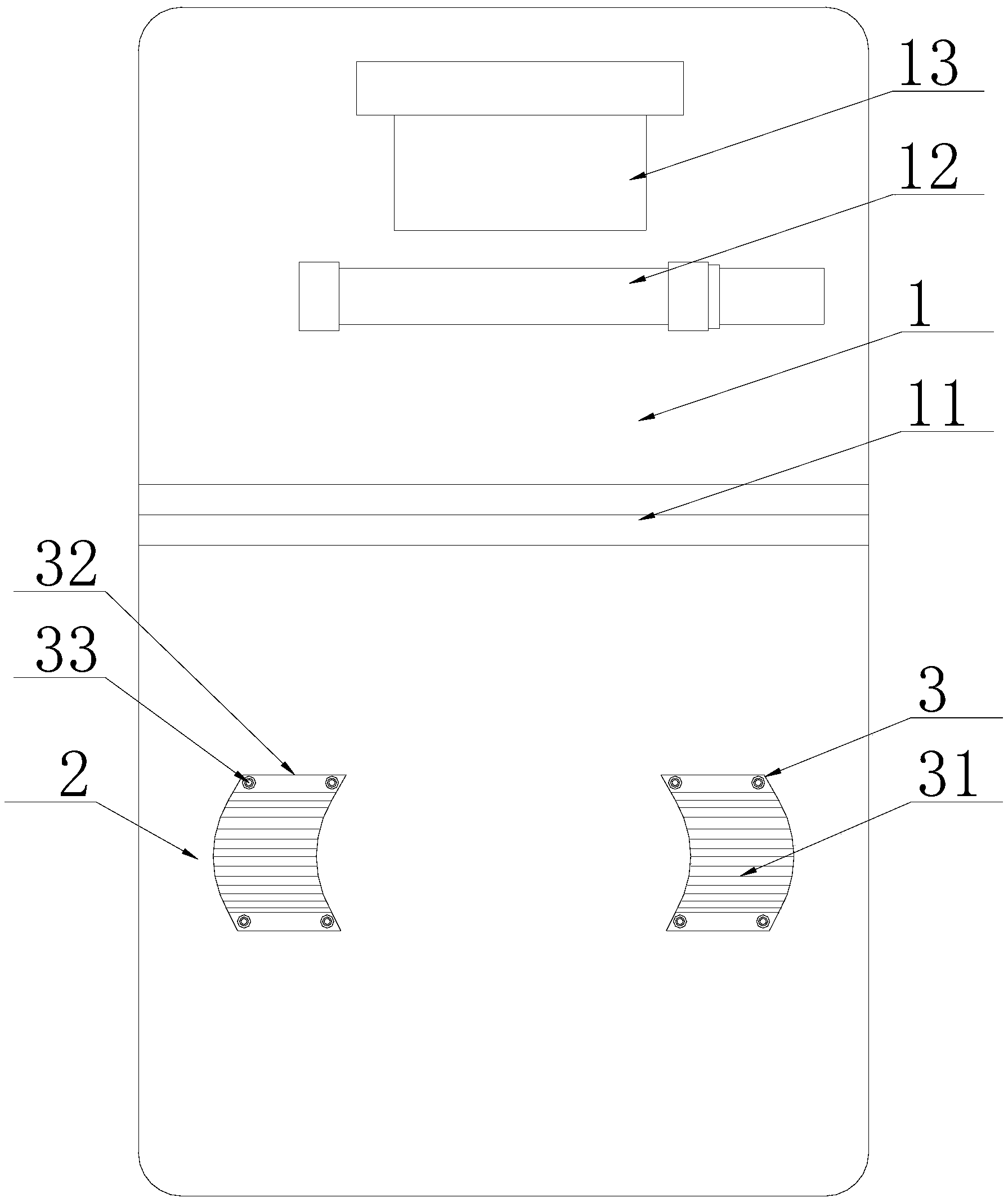
| 摘要: | 本实用新型公开了一种新生儿抽血固定装置,具体涉及抽血固定装置领域,包括第一主板,所述第一主板的一端设置有第二主板,所述第二主板的上端外表面固定安装有两组固定架,两组所述固定架呈对称排列,所述固定架的上端设置有调节环,所述固定架的中部设置有调节板。本实用新型通过设置固定架、调节板、导柱和电机,当需要对新生儿进行抽血时,人们可以将新生儿放置在第一主板与第二主板上,使新生儿的腿部放置在第二主板的固定架下,对新生儿的腿部进行固定,固定架中部设置的调节板为软性橡胶材质,人们可以根据新生儿腿部的弯曲程度改变调节板的曲度,增加了固定架的适用性,整个操作过程需要一人即可,较为方便。 | ||||
| 补充信息 | |||||
| 转让方式: | 成熟度: | 预估价值: | |||
| 市场前景: | |||||