样品
成果详情
| 项目简介 | |||||
|---|---|---|---|---|---|
| 技术简介: | |||||
| 专利类型: | 实用新型 | 专利申请号: | CN202022333859.8 | 公开号: | CN213723181U |
| 专利权人: | 南方医科大学南方医院 | 发明设计人: | 郭亚云;黄榕;范嘉仪;黄少慧;孙琼菲 | ||
| 所属领域: | |||||
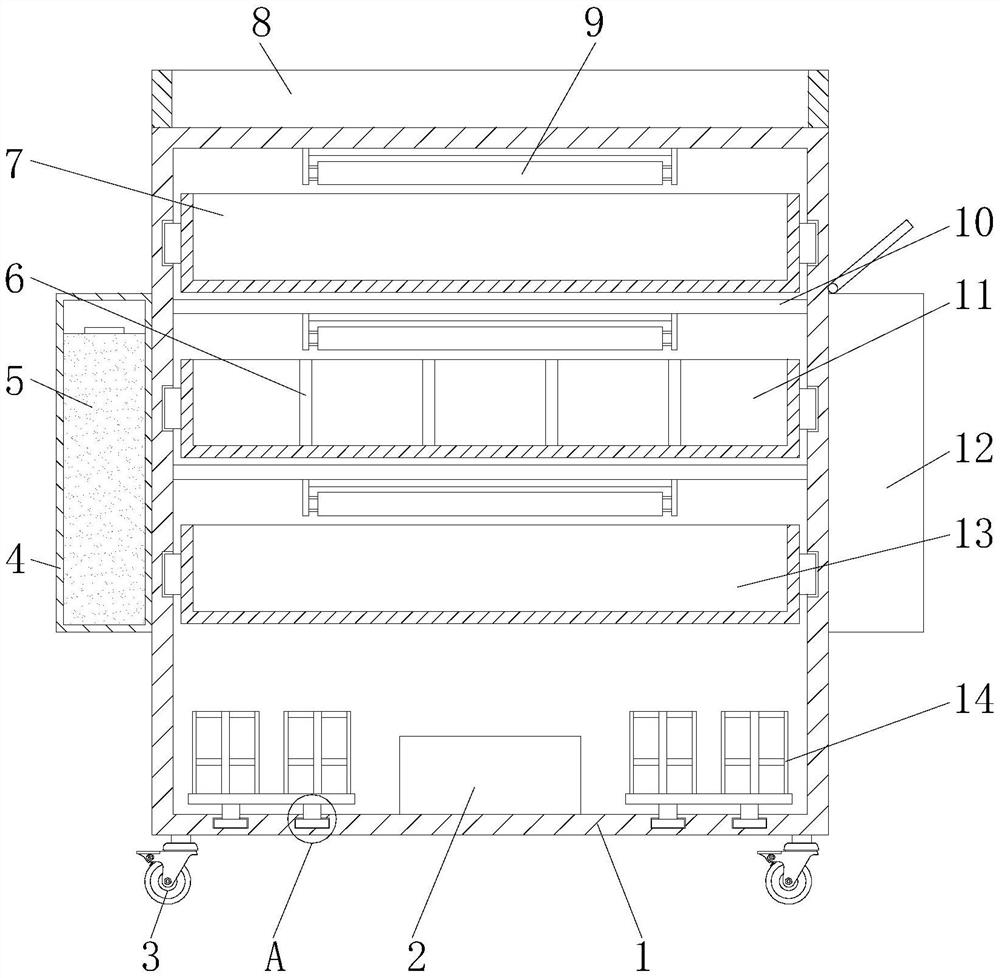
| 摘要: | 本实用新型公开了可移动式吸痰备物车,包括车体,所述车体底部的四角均固定连接有万向轮,车体内腔底部的中端设置有生活垃圾放置桶,车体内腔底部的两侧均开设有滑槽,滑槽的内腔滑动连接有滑块,所述滑块的顶部固定连接有抽拉板。本实用新型通过车体、生活垃圾放置桶、万向轮、蓄电池、分隔板、第一抽屉、围板、紫外线灯、固定板、第二抽屉、感染垃圾放置桶、第三抽屉和开关的配合使用,具备功能性强、能够对吸痰部件进行整齐分类放置的优点,解决了现有的吸痰备物车功能性较差,且无法对吸痰设备的各部件进行整齐分类放置,当需要吸痰操作时,无法快速寻找出所需部件,从而会降低吸痰操作效率,浪费了宝贵治疗时间的问题。 | ||||
| 补充信息 | |||||
| 转让方式: | 成熟度: | 预估价值: | |||
| 市场前景: | |||||