样品
成果详情
| 项目简介 | |||||
|---|---|---|---|---|---|
| 技术简介: | |||||
| 专利类型: | 实用新型 | 专利申请号: | CN202021295317.X | 公开号: | CN213156520U |
| 专利权人: | 南方医科大学南方医院 | 发明设计人: | 郭萍;黄榕;曾灿辉;陈宝梅;郑文苗 | ||
| 所属领域: | |||||
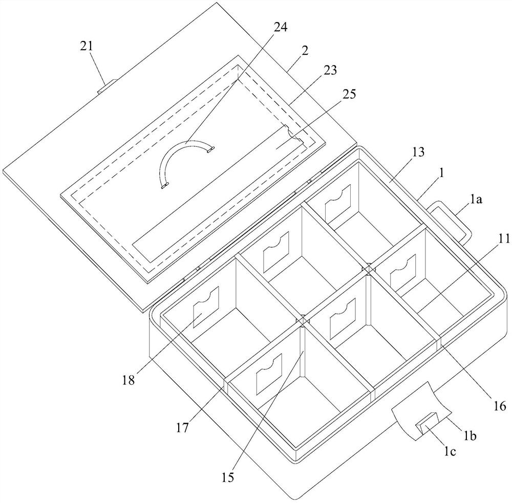
| 摘要: | 本实用新型公开了一种待消毒物品收纳盒,包括盒体与盒盖,盒盖与盒体的前侧扣接,盒盖与盒体的后侧铰接,所述盒体的内腔通过可拆卸的纵向与横向的隔板分隔为可按数量分类放置待消毒物品的多个容纳槽一,各容纳槽一的槽壁上有可插印有待消毒物品名称及数量的卡片的插槽,盒体的侧壁上端面凹陷有用于容纳拆卸的隔板的容纳槽二,盒盖内壁面有可打开和关闭的用于容纳拆卸的隔板的容纳槽三。本实用新型的待消毒物品收纳盒能够避免供应室工作人员过来取物品时数量弄错,提高工作效率。 | ||||
| 补充信息 | |||||
| 转让方式: | 成熟度: | 预估价值: | |||
| 市场前景: | |||||