样品
成果详情
| 项目简介 | |||||
|---|---|---|---|---|---|
| 技术简介: | |||||
| 专利类型: | 发明 | 专利申请号: | CN202010739921.5 | 公开号: | CN111991684A |
| 专利权人: | 南方医科大学南方医院 | 发明设计人: | 曾鹏程;黄为民;陈红武;杨明;廖卫华;宋小燕;王俊辉;杨德慧;吴桂容 | ||
| 所属领域: | |||||
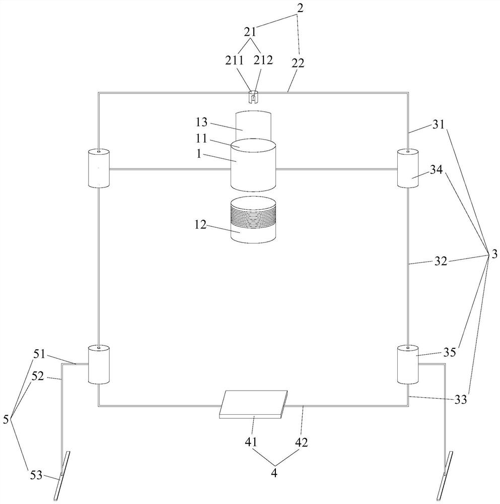
| 摘要: | 本发明公开了一种脚踩式消毒设备,包括固定于墙上的盒体,所述盒体内深度可调的免洗消毒液瓶容纳腔,盒体的上方有横向下压件,横向下压件的两端连接有竖向联动件,横向下压件两端连接的竖向联动件的下端连接至横向布置的脚踏件,横向下压件两端连接的竖向联动件均分别限位在一立式支撑内。本发明的脚踩式消毒设备避免了交叉感染。 | ||||
| 补充信息 | |||||
| 转让方式: | 成熟度: | 预估价值: | |||
| 市场前景: | |||||