样品
成果详情
| 项目简介 | |||||
|---|---|---|---|---|---|
| 技术简介: | |||||
| 专利类型: | 实用新型 | 专利申请号: | CN201821295749.3 | 公开号: | CN208988628U |
| 专利权人: | 南方医科大学南方医院 | 发明设计人: | 周宏珍;白雪洁;何利君;王莉慧;李牧玲;陈超武 | ||
| 所属领域: | |||||
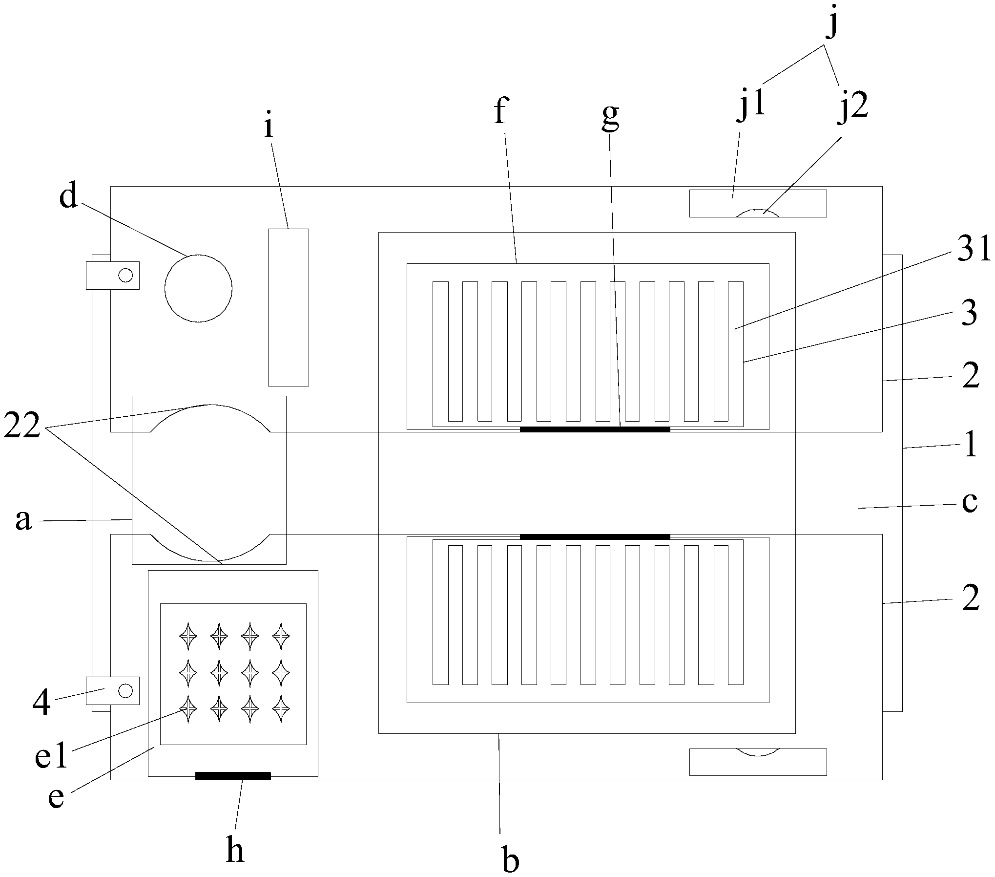
| 摘要: | 本实用新型公开了一种单手残障人士厨房用多功能砧板,包括砧板本体,砧板本体的上侧滑动安装有对称且能相对移动和能够固定的两个拖拉板,两个拖拉板共同构成瓶状物固定功能区和切片功能区,两个拖拉板之间形成夹槽,夹槽经过瓶状物固定功能区的中部和切片功能区的中部,两个拖拉板上分别附带有鸡蛋固定槽和可拆卸的擦丝器。本实用新型的单手残障人士厨房用多功能砧板解决单手残障人士单手操作的困难,同时实现一物多用的功能,使用方便。 | ||||
| 补充信息 | |||||
| 转让方式: | 成熟度: | 预估价值: | |||
| 市场前景: | |||||