样品
成果详情
| 项目简介 | |||||
|---|---|---|---|---|---|
| 技术简介: | |||||
| 专利类型: | 实用新型 | 专利申请号: | CN202420222145.5 | 公开号: | CN221845115U |
| 专利权人: | 南方医科大学 | 发明设计人: | 潘品霏;何录杭;马城灿;赵明文;杨静;游财振 | ||
| 所属领域: | |||||
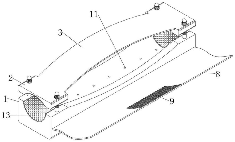
| 摘要: | 本申请涉及康复防护设备领域,公开了一种烧伤康复皮肤防护设备,包括防护座,所述防护座的顶面设置有两个连接板,且两个所述连接板相互靠近的一侧均固定安装有弧形防护板,所述连接板的底面开设有弧形凹槽,使用人员将螺柱穿过连接孔的内部并将锁紧螺帽拧紧,从而便于对连接板、弧形防护板进行安装,然后人员在将防护绑带通过魔术贴刺面与魔术贴毛面固定,使得外界的液体如汤汁或者水不会对患者烧伤皮肤处造成影响,便于对患者烧伤的腿部或者手臂进行防护,该装置结构简单操作便捷,通过设置的防护座、弧形防护板和防护绑带可以有效的避免人员或者物体与患者烧伤的皮肤处接触,提高对患者的保护。 | ||||
| 补充信息 | |||||
| 转让方式: | 成熟度: | 预估价值: | |||
| 市场前景: | |||||