样品
成果详情
| 项目简介 | |||||
|---|---|---|---|---|---|
| 技术简介: | |||||
| 专利类型: | 实用新型 | 专利申请号: | CN202021776254.X | 公开号: | CN213406749U |
| 专利权人: | 南方医科大学南方医院 | 发明设计人: | 陈谊;项平;朱世华;张萍 | ||
| 所属领域: | |||||
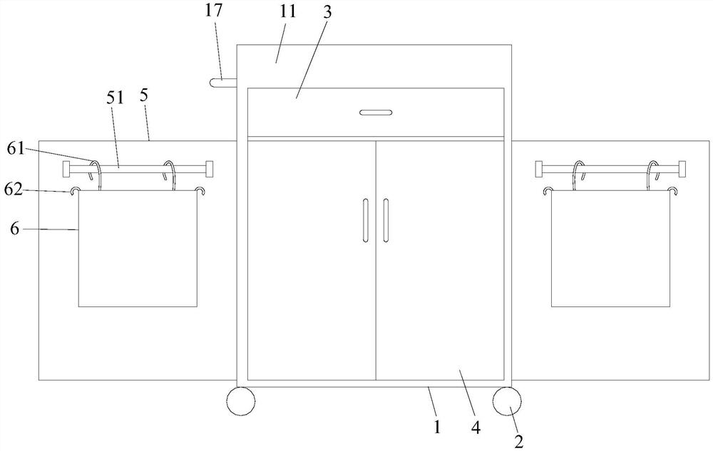
| 摘要: | 本实用新型公开了一种带可移动医用垃圾筐的换药车,包括车体,车体底部装有万向轮,所述车体包括上腔和下腔,上腔的前侧敞口,下腔的前侧、左侧和右侧均敞口,上腔内装有用于放置消毒换药包且沿前后方向推拉的抽屉,下腔的前侧敞口处装有对开式的开关门一,所述下腔的左侧和右侧敞口处均装有开关门二,开关门二的后侧与车体铰接连接,开关门二的内侧固定有横向挂杆,横向挂杆上挂有可取下的套袋式垃圾筐。本实用新型的带可移动医用垃圾筐的换药车方便了医用垃圾的丢弃。 | ||||
| 补充信息 | |||||
| 转让方式: | 成熟度: | 预估价值: | |||
| 市场前景: | |||||