样品
成果详情
| 项目简介 | |||||
|---|---|---|---|---|---|
| 技术简介: | |||||
| 专利类型: | 实用新型 | 专利申请号: | CN201820618736.9 | 公开号: | CN209203557U | 
| 专利权人: | 南方医科大学南方医院 | 发明设计人: | 殷学民;张琰;杨斓 | ||
| 所属领域: | |||||
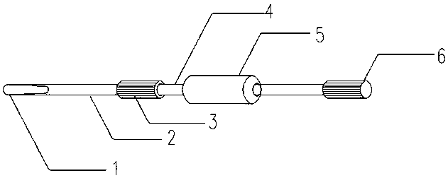
| 摘要: | 本实用新型属于口腔医学临床领域,公开了一种自攻型免锤击根尖挺。本实用新型所述的自攻型免锤击根尖挺包括:可更换的牙挺部件,其包括楔状的头部和延伸的杆部;增隙动力部件,其包括直杆与击锤,所述击锤嵌套在所述直杆的外周上;以及连接部件,将所述牙挺部件的杆部与所述增隙动力部件的直杆连接起来。本实用新型所述的自攻型免锤击根尖挺能免除助手从旁锤击,操作者可独自提供增隙动力,避免了拔牙术中下颌骨骨折的风险。 | ||||
| 补充信息 | |||||
| 转让方式: | 成熟度: | 预估价值: | |||
| 市场前景: | |||||