样品
成果详情
| 项目简介 | |||||
|---|---|---|---|---|---|
| 技术简介: | |||||
| 专利类型: | 实用新型 | 专利申请号: | CN202021894505.4 | 公开号: | CN213491846U |
| 专利权人: | 南方医科大学南方医院 | 发明设计人: | 李晓瑾;李文姬;曾颖华;周春兰 | ||
| 所属领域: | |||||
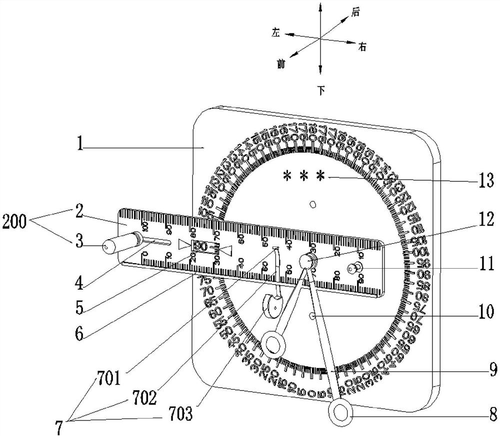
| 摘要: | 本实用新型公开了一种乳腺癌术后淋巴水肿预防监测用具,包括基板、尺组件、软尺以及文字标识模块,所述尺组件包括尺本体和设置在所述尺本体一端部的手柄,所述尺本体的另一端部转动设置在所述基板上,驱动所述手柄能够使得所述尺本体在平行于所述基板所在的平面做圆周运动,所述尺本体的至少一侧部设置有沿所述尺本体长度方向布设的软尺活动卡槽,所述软尺穿过软尺活动卡槽设置在所述尺本体上,所述文字标识模块设置在所述基板的表面。通过设置在基板上的尺组件、软尺和文字标识模块,实现了使用便捷、经济安全,集锻炼、臂围监测、患肢保护的多功能化和系统化的用具,贯穿淋巴水肿的预防、评估、监测全过程。 | ||||
| 补充信息 | |||||
| 转让方式: | 成熟度: | 预估价值: | |||
| 市场前景: | |||||