样品
成果详情
| 项目简介 | |||||
|---|---|---|---|---|---|
| 技术简介: | |||||
| 专利类型: | 实用新型 | 专利申请号: | CN202321599050.7 | 公开号: | CN220275610U |
| 专利权人: | 南方医科大学深圳医院 | 发明设计人: | 王燕芳;徐玲玲;王丽娜;刘启珍;梁欣欣;林云志 | ||
| 所属领域: | |||||
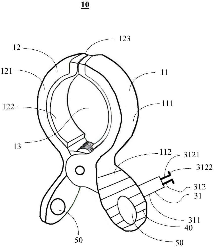
| 摘要: | 本实用新型适用于医疗器械技术领域,提供了一种环形电极夹装置,包括:第一环形电极夹,其包括第一上夹和第一下夹;所述第一上夹的夹头与所述第一下夹的夹头之间构成第一环形圈;所述第一环形圈与穿戴者的手指相适配;第二环形电极夹,其包括第二上夹和第二下夹;所述第二上夹的夹头与所述第二下夹的夹头之间构成第二环形圈;所述第二环形圈与穿戴者的手指相适配;所述第一环形电极夹与所述第二环形电极夹通过可拆卸连接部可拆卸连接。由此,本实用新型减少了记录电极的更换频率,提升工作效率,增加了肌电图仪器等监测设备接口的使用寿命。 | ||||
| 补充信息 | |||||
| 转让方式: | 成熟度: | 预估价值: | |||
| 市场前景: | |||||