样品
成果详情
| 项目简介 | |||||
|---|---|---|---|---|---|
| 技术简介: | |||||
| 专利类型: | 发明 | 专利申请号: | CN201910539295.2 | 公开号: | CN110327529A |
| 专利权人: | 南方医科大学深圳医院 | 发明设计人: | 徐建国;朱颖;窦守坤;杨超;陶淑慧 | ||
| 所属领域: | |||||
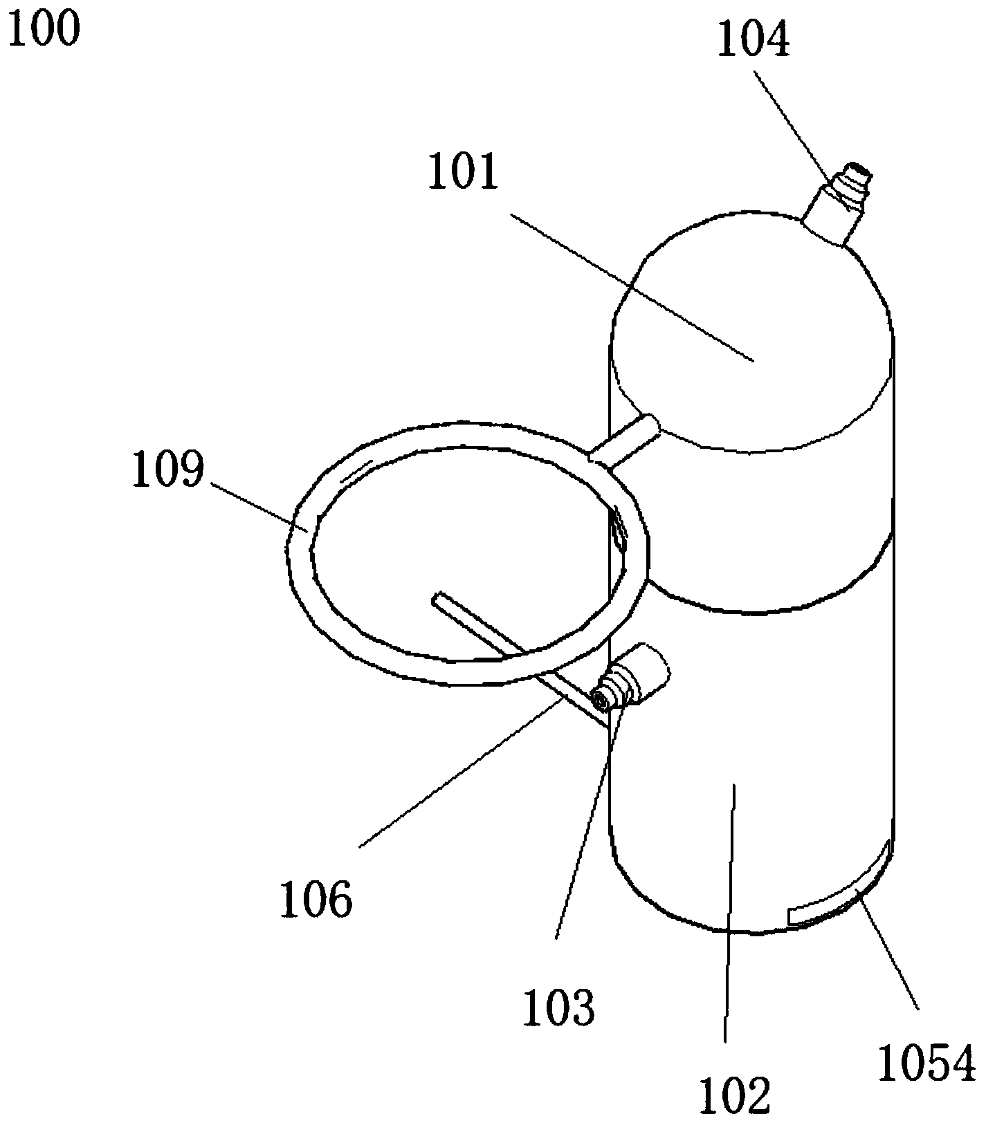
| 摘要: | 本发明涉及一种恒温湿化装置,包括:气源进口,所述气源进口设置在所述恒温湿化装置的一侧的中下部;气源出口,所述气源出口位于所述恒温湿化装置的另一侧的中上部;恒温装置,所述恒温装置设置在所述恒温湿化装置的底部;电源连接线,所述电源连接线与所述恒温装置连接并贯穿所述恒温湿化装置。其优点在于,恒温装置对湿化装置进行温和的升温保温,避免出现温度急剧上升;湿化装置内设置有一独特结构的挡板结构,能够提高气体停留在恒温湿化装置内的时间,避免加温加湿后的气体在流动过程中出现湿度或温度损失。 | ||||
| 补充信息 | |||||
| 转让方式: | 成熟度: | 预估价值: | |||
| 市场前景: | |||||