样品
成果详情
| 项目简介 | |||||
|---|---|---|---|---|---|
| 技术简介: | |||||
| 专利类型: | 实用新型 | 专利申请号: | CN202021428041.8 | 公开号: | CN213139530U |
| 专利权人: | 南方医科大学南方医院 | 发明设计人: | 苗勇;胡志奇;杜丽娟 | ||
| 所属领域: | |||||
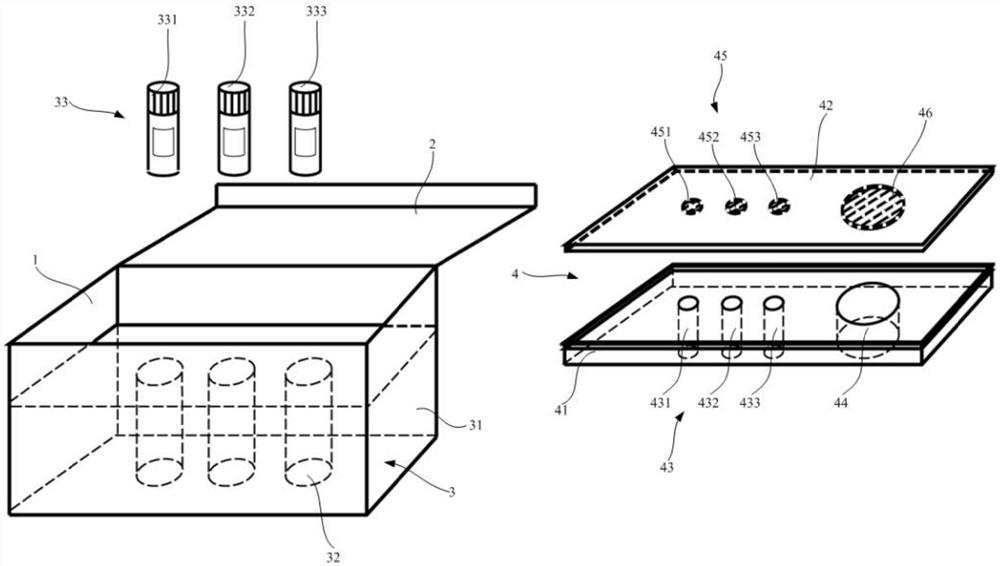
| 摘要: | 本实用新型公开一种新型的人头皮毛囊内磺基转移酶活性检测试剂盒,包括盒体和盖体;放置于盒体内的下层容器,下层容器包括容器本体和设于其上的若干试管槽,试管槽开口朝上,每个试管槽内插有一根试管,每根试管容纳一种液态试剂;放置于盒体内并位于下层容器上方的上层反应板,上层反应板包括反应板本体和反应板盖体,反应板本体设有若干试剂孔和一个反应孔,每个试剂孔用以容纳一种固态试剂,反应板盖体内侧对应每个试剂孔分别设有一个试剂孔盖,对应反应孔设有一个反应孔盖,当反应板盖体封堵反应板本体时,试剂孔盖与对应试剂孔密封连接,反应孔盖与反应孔密封连接。本实用新型可对液态和固态试剂分区存放,便于在不同储存条件下进行运输。 | ||||
| 补充信息 | |||||
| 转让方式: | 成熟度: | 预估价值: | |||
| 市场前景: | |||||