样品
成果详情
| 项目简介 | |||||
|---|---|---|---|---|---|
| 技术简介: | |||||
| 专利类型: | 发明 | 专利申请号: | CN201510738480.6 | 公开号: | CN105255731A |
| 专利权人: | 南方医科大学珠江医院 | 发明设计人: | 高毅;翁骏;张志 | ||
| 所属领域: | |||||
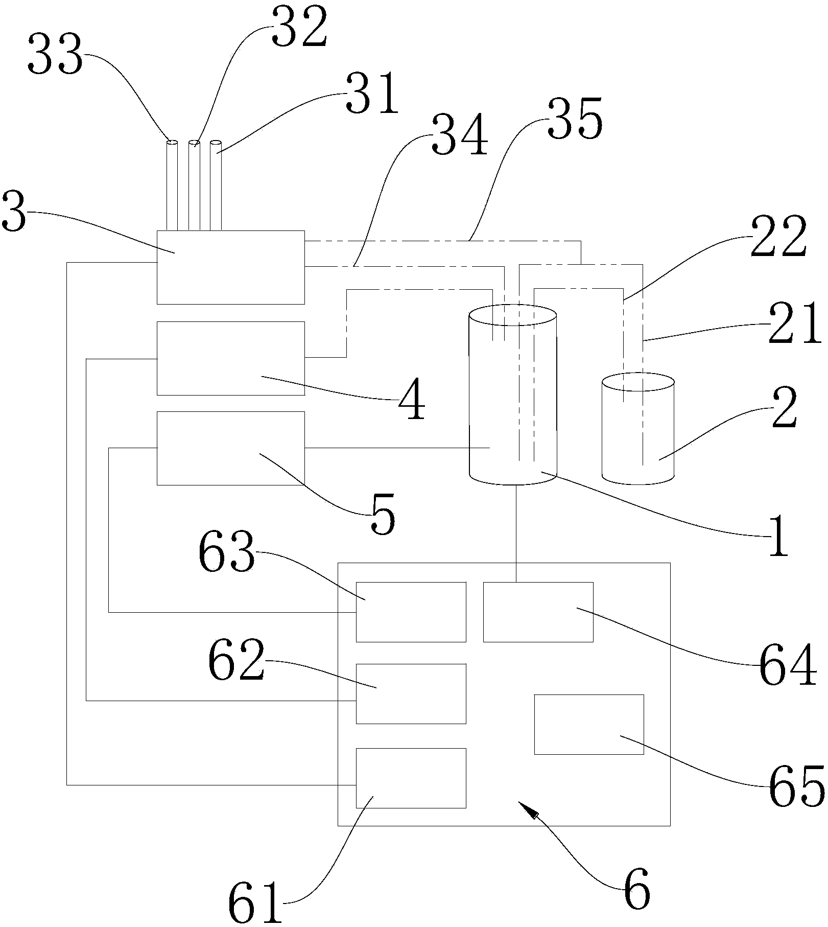
| 摘要: | 本发明公开一种生物反应器,其包括外罐体、紧密盖合在所述外罐体顶部的上盖以及设置在所述外罐体内部的反应柱;所述反应柱包括环形柱壁、由该环形柱壁限定的反应腔、固定盖合在所述环形柱壁底部的培养基流入盘、固定盖合在所述环形柱壁顶部的培养基流出盘以及设置在所述反应腔内部的载体容量调节装置。还公开一种循环灌注式细胞培养系统,其包括如前所述的生物反应器,还包括分别与所述生物反应器连通的外置灌注罐、气体输入器、调节液输入器、恒温加热器,以及控制该培养系统各部分的中心控制器。本发明有效降低液体剪切力,显著提高培养基循环效率,增加对细胞的氧气与营养的供应,并且可以实现自动化,为进一步临床转化提供条件。 | ||||
| 补充信息 | |||||
| 转让方式: | 成熟度: | 预估价值: | |||
| 市场前景: | |||||