样品
成果详情
| 项目简介 | |||||
|---|---|---|---|---|---|
| 技术简介: | |||||
| 专利类型: | 实用新型 | 专利申请号: | CN202123233371.9 | 公开号: | CN216483501U |
| 专利权人: | 南方医科大学南方医院 | 发明设计人: | 邱敏丽 | ||
| 所属领域: | |||||
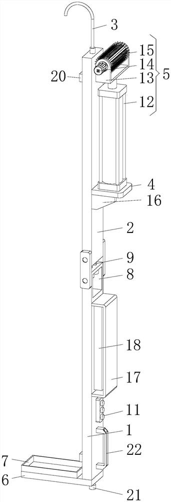
| 摘要: | 本实用新型公开了一种可折叠的紫外线灯管强度测试架,包括下支架,支架的顶部固定有挂钩,支架的底部连接有放置板,所述支架为可折叠式支架,支架的侧面固定有支板,支板的顶部固定连接有可升降的清洁机构。本实用新型具备能够对测试架进行折叠收纳及具有清洁功能的优点,解决了现有的紫外线灯管强度测试架在使用过程中,通常不具有清洁功能,导致无法根据实际使用情况对紫外线灯管的表面进行清扫处理,从而影响后续的强度检测效果,且由于结构单一,不能对测试架进行折叠收纳,降低了紫外线灯管强度测试架适用性的问题。 | ||||
| 补充信息 | |||||
| 转让方式: | 成熟度: | 预估价值: | |||
| 市场前景: | |||||