样品
成果详情
| 项目简介 | |||||
|---|---|---|---|---|---|
| 技术简介: | |||||
| 专利类型: | 实用新型 | 专利申请号: | CN202321278228.8 | 公开号: | CN219944037U |
| 专利权人: | 南方医科大学深圳医院 | 发明设计人: | 芦娟;张均倡;羊燕群;周立群;周凡媛;全永东;李冬春;王昕 | ||
| 所属领域: | |||||
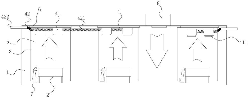
| 摘要: | 本实用新型公开一种中医灸疗单元排烟系统,包括密闭艾灸空间、排气组件和进气组件;密闭艾灸空间可一个或多个,每个密闭艾灸空间有至少一个用于排气的排气组件和至少一个用于进气的进气组件;排气组件包括可多档调节的换气扇和可折弯的排气管道;且进气组件能够匹配排气量进气,形成由进气组件朝向排气组件的气流。本实用新型系统基于特定的量效关系而设计,量是指排气组件的排气量,它可根据密闭艾灸空间的艾灸烟雾产生量的大小进行正向动态分档调节,效指使密闭艾灸空间内艾灸烟雾浓度达到无感或者有感无刺激的效果。排气量可动态调节来满足排烟效果。改变现有弊端,能够做到排烟效果好、调节灵活、节能降耗,且结构简单、维护方便、降低成本。 | ||||
| 补充信息 | |||||
| 转让方式: | 成熟度: | 预估价值: | |||
| 市场前景: | |||||