样品
成果详情
| 项目简介 | |||||
|---|---|---|---|---|---|
| 技术简介: | |||||
| 专利类型: | 实用新型 | 专利申请号: | CN201821151515.1 | 公开号: | CN208927200U |
| 专利权人: | 南方医科大学南方医院 | 发明设计人: | 王秀英;黄榕;徐丽;郭萍;陈宝梅 | ||
| 所属领域: | |||||
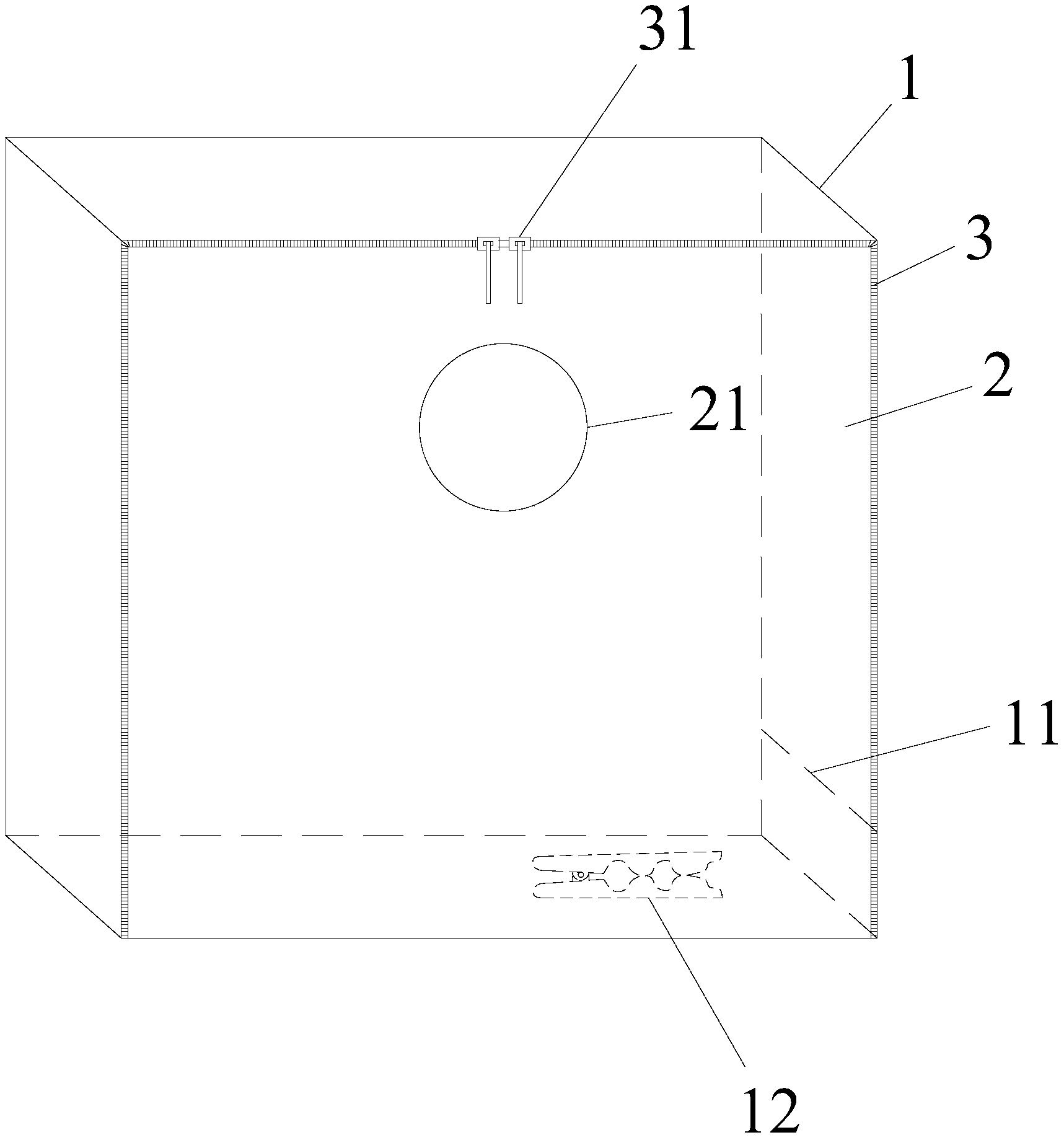
| 摘要: | 本实用新型公开了一种中心负压吸引表防尘罩,包括长方体结构的防尘罩体,防尘罩体的前侧敞口,防尘罩体在前侧敞口处设有可合上和打开的盖体,盖体上部设有与防尘罩体内部连通的负压表后座固定孔,防尘罩体的左侧或右侧下部设有与防尘罩体内部连通的负压吸引管穿入口,防尘罩体的内底部固定有用于夹持负压吸引管的卡夹,卡夹接近负压吸引管穿入口。本实用新型的中心负压吸引表防尘罩可固定负压吸引管以免滑脱,起到有效的防尘作用。 | ||||
| 补充信息 | |||||
| 转让方式: | 成熟度: | 预估价值: | |||
| 市场前景: | |||||